1. 空分站工藝流程簡介
空分(fen)裝置(zhi)(Air Separation Unit,ASU)是(shi)用來分(fen)離(li)空氣(qi)(qi)(qi)中的各組分(fen)氣(qi)(qi)(qi)體,為全(quan)廠工藝裝置(zhi)及各輔助裝置(zhi)提供所需要的氧氣(qi)(qi)(qi)、氮氣(qi)(qi)(qi)、氬氣(qi)(qi)(qi)等氣(qi)(qi)(qi)體和液體產品的裝置(zhi)。氧氣(qi)(qi)(qi)和氮氣(qi)(qi)(qi)是(shi)煉(lian)化裝置(zhi)中不可(ke)缺少的原(yuan)料氣(qi)(qi)(qi)和保護氣(qi)(qi)(qi)。
在空分(fen)領域中,深冷(leng)法(fa)(fa)(fa)、變(bian)壓(ya)吸附法(fa)(fa)(fa)、膜(mo)分(fen)離(li)(li)法(fa)(fa)(fa)是應用于工業生(sheng)(sheng)產(chan)(chan)(chan)的(de)(de)三大(da)分(fen)離(li)(li)方(fang)法(fa)(fa)(fa)。深冷(leng)法(fa)(fa)(fa)是傳統的(de)(de)制氧(氮(dan)(dan))方(fang)法(fa)(fa)(fa),在國(guo)內外的(de)(de)制氧(氮(dan)(dan))行業中仍占據(ju)著統治(zhi)地位,適用于氧(氮(dan)(dan))氣(qi)需求(qiu)量(liang)大(da)、純度高,且要(yao)求(qiu)連(lian)續供氣(qi),并將(jiang)液氧(氮(dan)(dan))作為(wei)儲備氣(qi)源的(de)(de)生(sheng)(sheng)產(chan)(chan)(chan)場合,變(bian)壓(ya)吸附法(fa)(fa)(fa)(PSA)和膜(mo)分(fen)離(li)(li)法(fa)(fa)(fa)是新興的(de)(de)制氧(氮(dan)(dan))方(fang)法(fa)(fa)(fa),其技術(shu)日臻成熟(shu),適用于氧(氮(dan)(dan))氣(qi)需求(qiu)量(liang)小、純度低、開(kai)停迅速、操作彈性大(da)、無(wu)需液體產(chan)(chan)(chan)品的(de)(de)生(sheng)(sheng)產(chan)(chan)(chan)場合。
目前(qian),國內外(wai)大型(xing)空(kong)分(fen)裝置流程(cheng)多(duo)數采(cai)用深冷法。根據(ju)產品壓(ya)(ya)縮情況,深冷法可分(fen)為外(wai)壓(ya)(ya)縮流程(cheng)和(he)內壓(ya)(ya)縮流程(cheng)。其(qi)中(zhong),內壓(ya)(ya)縮流程(cheng)較(jiao)為廣(guang)泛(fan)地(di)應用在冶金、石油化工等行業(ye)。根據(ju)循環增壓(ya)(ya)機(ji)壓(ya)(ya)縮介(jie)質(zhi)的不同(tong),內壓(ya)(ya)縮流程(cheng)通常可分(fen)為空(kong)氣(qi)循環流程(cheng)和(he)氮氣(qi)循環流程(cheng)。
空分設備(bei)系統,如圖5-150所示。

目前空分(fen)(fen)設(she)(she)備(bei)流(liu)(liu)程(cheng)(cheng)主要分(fen)(fen)為外(wai)(wai)壓(ya)(ya)(ya)縮(suo)流(liu)(liu)程(cheng)(cheng)和(he)內壓(ya)(ya)(ya)縮(suo)流(liu)(liu)程(cheng)(cheng)。外(wai)(wai)壓(ya)(ya)(ya)縮(suo)流(liu)(liu)程(cheng)(cheng)就(jiu)(jiu)是(shi)(shi)空分(fen)(fen)設(she)(she)備(bei)生產(chan)(chan)低壓(ya)(ya)(ya)氧(yang)氣,然后經(jing)氧(yang)壓(ya)(ya)(ya)機加壓(ya)(ya)(ya)至所(suo)(suo)需壓(ya)(ya)(ya)力供(gong)給用(yong)戶(hu)(hu)。內壓(ya)(ya)(ya)縮(suo)流(liu)(liu)程(cheng)(cheng)是(shi)(shi)相對(dui)于(yu)外(wai)(wai)壓(ya)(ya)(ya)縮(suo)而言的(de)。就(jiu)(jiu)是(shi)(shi)取消氧(yang)壓(ya)(ya)(ya)機,直接從空分(fen)(fen)設(she)(she)備(bei)生產(chan)(chan)出中高壓(ya)(ya)(ya)的(de)氧(yang)氣供(gong)給用(yong)戶(hu)(hu)。內壓(ya)(ya)(ya)縮(suo)流(liu)(liu)程(cheng)(cheng)與外(wai)(wai)壓(ya)(ya)(ya)縮(suo)流(liu)(liu)程(cheng)(cheng)的(de)主要區(qu)別在于(yu)產(chan)(chan)品氧(yang)的(de)供(gong)氧(yang)壓(ya)(ya)(ya)力是(shi)(shi)液氧(yang)在冷箱內經(jing)液氧(yang)泵(beng)加壓(ya)(ya)(ya)達到的(de),如(ru)圖5-151所(suo)(suo)示。

2. 空壓站工藝流程簡介
在(zai)煉(lian)油和石油化工企(qi)業的(de)(de)生產(chan)中(zhong),作為常用吹掃介質的(de)(de)工廠空氣及儀表動力來源的(de)(de)儀表空氣是必(bi)不可(ke)少的(de)(de)。因此,在(zai)煉(lian)油和石油化工企(qi)業的(de)(de)工廠設(she)計(ji)(ji)中(zhong),經常能遇到作為重(zhong)要輔助設(she)施的(de)(de)空壓站的(de)(de)設(she)計(ji)(ji)。
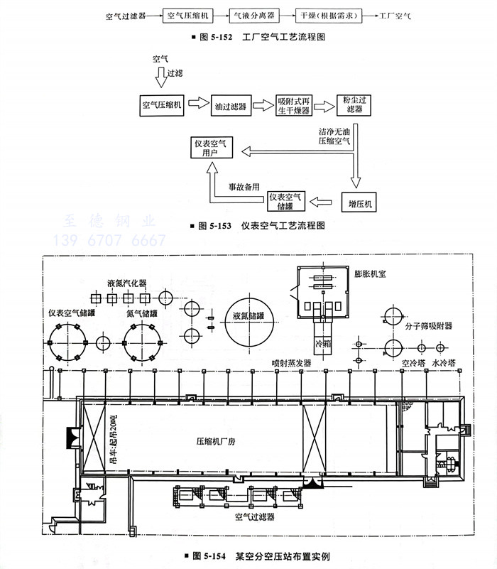
工廠空(kong)氣(qi)工藝流(liu)程(cheng)圖,如圖5-152所示(shi)。儀表空(kong)氣(qi)工藝流(liu)程(cheng)圖,如圖5-153所示(shi)。

3. 某空(kong)分空(kong)壓站(zhan)布置實例(圖5-154)

