①. 此處的(de)高(gao)點(dian)(dian)排(pai)(pai)氣及低(di)點(dian)(dian)排(pai)(pai)液是指在PID圖上(shang)可(ke)以不表示的(de)。高(gao)點(dian)(dian)排(pai)(pai)氣用于水壓(ya)試驗(yan)及液體管道的(de)排(pai)(pai)氣,低(di)點(dian)(dian)排(pai)(pai)液用于水壓(ya)試驗(yan)及停車(che)排(pai)(pai)凈(jing)等(deng)。PID圖上(shang)所(suo)表示的(de)排(pai)(pai)氣和排(pai)(pai)液應(ying)按(an)流程要(yao)求,并遵循(xun)有關(guan)規定進行設計。
②. 不銹(xiu)鋼(gang)管道的高點與低點均應分別備有排氣口與排液口,并位于容易接近的地方。如該處(相同高度)有其他接口可利用時,可不另設排氣口或排液口。除管廊上的管道外,對于公稱直徑小于或等于25mm的管道可省去排氣口。對于蒸汽伴熱管迂回時出現的低點處,可不設排液口。
③. 高點(dian)排氣(qi)(qi)管的公(gong)稱直徑(jing)最(zui)小應為15mm;低點(dian)排液(ye)管的公(gong)稱直徑(jing)最(zui)小應為20mm。當主管公(gong)稱直徑(jing)為15mm時,可采用(yong)等(deng)徑(jing)的排液(ye)口。SH3012規定了(le)放(fang)氣(qi)(qi)口、排液(ye)口的最(zui)小公(gong)稱直徑(jing),對于(yu)(yu)小于(yu)(yu)或(huo)等(deng)于(yu)(yu)DN25的為15mm,對于(yu)(yu)DN40~150的為20mm,對于(yu)(yu)DN200~350的為25mm,對于(yu)(yu)大(da)于(yu)(yu)或(huo)等(deng)于(yu)(yu)DN400的為40mm。高黏度(du)介質管道排液(ye)口大(da)于(yu)(yu)或(huo)等(deng)于(yu)(yu)DN25。
④. 氣(qi)體(ti)管(guan)道的(de)高(gao)點排氣(qi)口(kou)可不(bu)設(she)閥(fa)門,接管(guan)口(kou)應采(cai)用(yong)法蘭(lan)蓋或管(guan)帽等加以封閉。
⑤. 所有排液口最低點(dian)與(yu)地面或(huo)平臺的距(ju)離不宜小于150mm。
⑥. 飽(bao)和蒸汽管(guan)道(dao)的低點應設集(ji)液包(bao)及蒸汽疏(shu)水閥組(zu)。
⑦. 對(dui)于(yu)全廠(chang)性的工藝、凝(ning)結水和水管道,在(zai)歷年最冷月月平均溫度(du)的平均值高于(yu)0℃的地區(qu),應(ying)少(shao)設低點(dian)排(pai)液(ye),低于(yu)或(huo)等于(yu)0℃的地區(qu),應(ying)在(zai)適當位置設低點(dian)排(pai)液(ye)。
⑧. 氫氣管(guan)道上不宜設置高點排氣和低(di)點排液(ye)。
⑨. 蒸汽主管(guan)(guan)(干管(guan)(guan))的(de)排液(ye)(ye)設施應包括撲集管(guan)(guan)、切斷閥和疏水閥(具體可見本書“蒸汽管(guan)(guan)道集液(ye)(ye)包”所述)。
⑩. 公(gong)用工程管道(dao)的(de)末(mo)端應設(she)置低(di)點排液(ye)口,以(yi)利排液(ye)和吹(chui)掃(sao)。
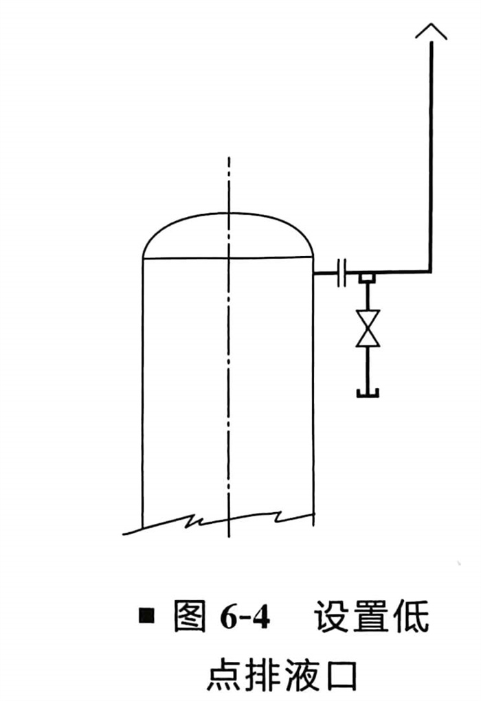
?. 凡向大氣排放的排氣管(guan)道,應設置低點排液口,如圖(tu)6-4所(suo)示。

?. 輸(shu)送催(cui)化劑(ji)或(huo)高黏度的物料(liao)(如焦(jiao)油(you)、瀝青、重質燃(ran)料(liao)油(you)等)管道(dao)排(pai)氣、排(pai)液口的直徑應不小(xiao)于DN25。
?. 漿液(ye)管(guan)道不(bu)宜設置(zhi)排(pai)(pai)氣和(he)排(pai)(pai)液(ye)口,如需要(yao)設置(zhi)排(pai)(pai)液(ye)口時(shi)其型式(shi)和(he)尺寸見圖6-5和(he)表6-3所示(shi)。

?. 輸送固體或漿料管道的排氣、排液管的切斷閥宜選用球閥或旋塞閥。
?. 管道(dao)上排(pai)(pai)氣、排(pai)(pai)液口設置的閥門應(ying)靠近主管。
?. 振動(dong)管道上直徑小(xiao)于DN40密閉(bi)放空、放凈管根部接口(kou)處(chu)應采取加強(qiang)措(cuo)施。
?. 輸送(song)液(ye)(ye)態丁烷和更輕的(de)液(ye)(ye)化烴類管(guan)道上的(de)排氣、排液(ye)(ye)管(guan)的(de)切斷閥應設雙(shuang)閥。
?. 放氣(qi)或排(pai)(pai)液(ye)(ye)(ye)管(guan)(guan)(guan)上的(de)切斷閥(fa),宜用(yong)閘(zha)閥(fa),閥(fa)后可(ke)(ke)接帶管(guan)(guan)(guan)帽(mao)(mao)短管(guan)(guan)(guan);對于高壓、極度(du)及高度(du)危(wei)害(hai)介質的(de)管(guan)(guan)(guan)道(dao)應(ying)設(she)雙閥(fa)。當設(she)置單閥(fa)時,應(ying)加盲(mang)(mang)板(ban)或法蘭蓋;連續操作的(de)可(ke)(ke)燃(ran)氣(qi)體(ti)(ti)管(guan)(guan)(guan)道(dao)低點的(de)排(pai)(pai)液(ye)(ye)(ye)閥(fa),應(ying)為雙閥(fa)。排(pai)(pai)出(chu)的(de)液(ye)(ye)(ye)體(ti)(ti)應(ying)排(pai)(pai)放至密閉系統:僅在(zai)開停(ting)工(gong)時使用(yong)的(de)排(pai)(pai)液(ye)(ye)(ye)閥(fa),可(ke)(ke)設(she)一(yi)道(dao)閥(fa)門并加螺(luo)紋堵(du)(du)頭、管(guan)(guan)(guan)帽(mao)(mao)、盲(mang)(mang)板(ban)或法蘭蓋。可(ke)(ke)燃(ran)液(ye)(ye)(ye)體(ti)(ti)管(guan)(guan)(guan)道(dao)以及大于2.5MP。蒸汽管(guan)(guan)(guan)道(dao)上排(pai)(pai)液(ye)(ye)(ye)管(guan)(guan)(guan)裝一(yi)個切斷閥(fa)時,應(ying)在(zai)端(duan)頭加管(guan)(guan)(guan)帽(mao)(mao)(管(guan)(guan)(guan)堵(du)(du))盲(mang)(mang)板(ban)或法蘭蓋。
?. 容器(qi)設(she)備上的排氣管除作為(wei)進出料(liao)呼吸用外,應設(she)置切斷閥,閥門宜直接與設(she)備管口(kou)相接。當只安裝一個切斷閥時其端(duan)部應設(she)置絲堵、管帽或盲法蘭(lan)密封。
?. 允許向大氣排(pai)(pai)放(fang)的(de)(de)(de)介質(zhi)排(pai)(pai)氣管端(duan)部的(de)(de)(de)高(gao)度應符合本書“管道布置設計(ji)的(de)(de)(de)一般要求”中“32大氣排(pai)(pai)放(fang)的(de)(de)(de)相關規定(ding)”。
21. 為保證閥門(men)檢修、絲(si)堵、管帽及法蘭拆卸、軟管連(lian)接,管道上低點(dian)排液管管端距地面或(huo)樓板面的凈距不得小于(yu)100mm。
22. 接地漏或開(kai)口(kou)罐(guan)的放凈管管口(kou)應高(gao)出地漏或罐(guan)口(kou)大于或等(deng)于50mm。
23. 管道(dao)布置呈U形(xing)II形(xing)時,其(qi)水平或垂直管道(dao)上的排(pai)氣、排(pai)液口安裝位置盡量(liang)設置在物料流(liu)向(xiang)的下游端部。
24. 對易(yi)自聚(ju)、易(yi)凍(dong)結(jie)、易(yi)凝(ning)固、含固體介質的(de)管(guan)(guan)道上(shang)的(de)排液管(guan)(guan)不應(ying)配成(cheng)如圖6-6(a)所示的(de)彎管(guan)(guan)形(xing)式(shi)。一般應(ying)采用圖6-6(b)的(de)形(xing)式(shi)。圖6-6(c)右側(ce)的(de)排凈閥(fa)(fa)門(men)放置(zhi)不合理,閥(fa)(fa)門(men)上(shang)側(ce)易(yi)積液。

25. 排氣、排液(ye)管端部連接形式。
a. 當采(cai)用管螺紋(wen)管件連接時,排氣、排液閥出口處加絲堵(du)密封。
b. 當采(cai)用(yong)承插焊接(jie)型管(guan)件(jian)連接(jie)時,排(pai)(pai)氣、排(pai)(pai)液閥出口處加螺紋(wen)管(guan)帽密(mi)封。如排(pai)(pai)氣、排(pai)(pai)液閥為法蘭(lan)連接(jie)時,可采(cai)用(yong)盲法蘭(lan)密(mi)封,亦可采(cai)用(yong)螺紋(wen)法蘭(lan)加絲堵。
c. 當(dang)采用定型管(guan)件連接時,管(guan)端(duan)部加盲板(ban)法蘭(lan),需要時可采用螺紋(wen)法蘭(lan)加絲堵(du)。
26. 排氣(qi)和排液(ye)型(xing)式(shi)分為(wei)兩類,一(yi)(yi)類為(wei)帶(dai)閥門型(xing),另一(yi)(yi)類為(wei)不(bu)帶(dai)閥門型(xing)。不(bu)帶(dai)閥門的排氣(qi)和排液(ye)不(bu)宜采用。
各種類(lei)型的排(pai)(pai)氣、排(pai)(pai)液配管的選用應根(gen)據工程管道等級規定選用。
其(qi)中螺紋連(lian)接(jie)主(zhu)要(yao)用(yong)(yong)于(yu)(yu)低(di)壓公(gong)用(yong)(yong)工(gong)程管道上的(de)(de)排氣和排液。承(cheng)插焊連(lian)接(jie)主(zhu)要(yao)用(yong)(yong)于(yu)(yu)碳鋼(gang)或(huo)低(di)合(he)金鋼(gang)的(de)(de)工(gong)藝(yi)(yi)管道或(huo)壓力較高的(de)(de)公(gong)用(yong)(yong)工(gong)程管道上。法蘭連(lian)接(jie)主(zhu)要(yao)用(yong)(yong)于(yu)(yu)不(bu)銹鋼(gang)等合(he)金鋼(gang)工(gong)藝(yi)(yi)管道上。設(she)備上的(de)(de)排氣類型較多。圖6-7所示為常用(yong)(yong)排氣、排液管安裝圖(含工(gong)藝(yi)(yi)要(yao)求排氣和排凈)。


