①. 集液包(bao)應設置在下列場合。
a. 蒸汽主管的末端。
b. 蒸汽管線的立式II形補償(chang)彎管或立管最低處。
c. 蒸汽(qi)水平管(guan)的低點處(chu)。
d. 裝置邊(bian)界(jie)蒸(zheng)汽管線切斷閥之(zhi)前(qian)。
②. 水平敷設(she)的(de)長蒸汽(qi)管應設(she)集液包,其間隔如下。
a. 在(zai)裝置內,飽和蒸汽宜為80m,過熱蒸汽宜為160m。
b. 在(zai)裝置(zhi)外,順坡時(shi)宜為300m,逆坡時(shi)宜為200m。
③. 管廊(lang)上蒸汽(qi)總(zong)管末端的(de)集液包(bao)配管應考慮以(yi)下要(yao)求。
a. 集液包(bao)及(ji)接管與梁之間(jian)的凈距應大于熱位移(yi)量及(ji)保(bao)溫所需的空間(jian),且(qie)不小于200mm(圖6-17)。
b. 集液包的(de)冷凝水出口管(guan)的(de)方位不宜(yi)向管(guan)廊(lang)梁的(de)一側引出,同(tong)時避免(mian)與管(guan)廊(lang)下層管(guan)道相碰。疏水閥應布置在不影響通行的(de)地方。
c. 集液包的(de)冷凝(ning)水出口(kou)管(guan)(guan)的(de)走(zou)向,除考(kao)慮管(guan)(guan)道柔性要求(qiu)外,還要考(kao)慮便于設置管(guan)(guan)道支架及疏水閥組的(de)支架。
d. 在蒸汽主管(guan)(guan)的(de)位移較大時,靠(kao)近主管(guan)(guan)的(de)小(xiao)管(guan)(guan)支架(jia)應盡量利用主管(guan)(guan)生根(gen),以減小(xiao)相對位移。
e. 蒸汽(qi)管徑小(xiao)于DN80時,根據項目(mu)要求可(ke)不必采用集液包,僅(jin)設(she)低點排(pai)放至疏水閥即(ji)可(ke)。

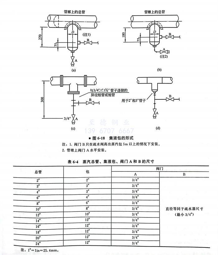
④. 集液包的結(jie)構(gou)如下。
a. 集(ji)液包的冷凝水出(chu)口管線(xian)應(ying)設切斷(duan)閥(fa)(fa)或蒸汽疏(shu)水閥(fa)(fa)組。
b. 集(ji)液(ye)包通常采用標準管件組合而成,應符合管道等級(ji)規定(ding)。集(ji)液(ye)包下端宜(yi)用法(fa)蘭(lan)蓋,兼(jian)作吹掃(sao)用。也可以(yi)用焊接管帽,但需增加排液(ye)口。
c. 根據蒸(zheng)(zheng)汽(qi)主管的管徑(jing)范圍組合形(xing)式(shi)(shi),集(ji)液包有如圖6-18所(suo)示的幾種(zhong)形(xing)式(shi)(shi)。蒸(zheng)(zheng)汽(qi)總管、集(ji)液包、閥門A和B的尺寸見表6-4。


