一、塔的平(ping)臺
塔平臺為從人孔、手孔處檢修設備;緊固法蘭;操作和維修調節閥組及檢修、安裝液面調節閥、大口徑閥門、檢測儀表、安全(quan)閥(fa)等附件而設。
當下列附件需要布置在距地面3600mm以上,或距平臺面1800mm以上時,應考慮設置平臺(從地面至3600mm以下的高度時,可使用移動平臺):控制閥組;重沸器;人孔;安全閥;DN100以上的閥,電動閥;取樣裝置;DN200及以上的盲法蘭或“8”字盲板;有必要增加法蘭的地方;液位計。
現有的平臺(tai)寬度(du)一(yi)般為(wei)1000~1500mm。人孔用(yong)平臺(tai)最小寬度(du)為(wei)1000mm。
塔頂平臺(tai)是為操作吊柱、放空閥(fa)和維修安全閥(fa)設置的,可制成方形,大(da)小按需要確定。此外,還應(ying)考慮如下(xia)事項。
①. 人(ren)孔(kong)(kong)中心線以距平(ping)(ping)臺600~1000mm為宜,最適宜高度為750mm(SH 3011規(gui)定平(ping)(ping)臺距人(ren)孔(kong)(kong)底部不宜大于800mm)。
②. 有兩個以上塔設備并列(lie)的情況下,建議統一平臺標高(gao),做聯合(he)平臺。平臺應(ying)設防(fang)護欄(lan)桿(gan)和踢腳板(ban),欄(lan)桿(gan)高(gao)度以1.2m為宜;平臺的進出口處應(ying)有自動復位欄(lan)桿(gan);影響檢修的欄(lan)桿(gan)段(duan),應(ying)為可(ke)拆卸的。
③. 聯合(he)平臺應考慮(lv)各塔、架之間的(de)熱脹及(ji)其(qi)移動(dong)因素,留有縫隙,加(jia)入適當的(de)銷子。塔身(shen)用法(fa)(fa)蘭連接時(shi),應在法(fa)(fa)蘭下側設置平臺,平臺面與(yu)法(fa)(fa)蘭的(de)距(ju)離不宜大于(yu)1.5m。
④. 通常,平(ping)臺的(de)均布荷(he)載為(wei)(wei)250~50~400kgf/㎡(2.5~4kPa)為(wei)(wei)宜,因(yin)(yin)維修或管架原因(yin)(yin)需(xu)要平(ping)臺承擔更大負(fu)荷(he)時(shi),須(xu)給(gei)設備工程師提出條件。
圖6-83~圖6-85所示為平臺設置的照片。


二(er)、吊柱
通(tong)常(chang),塔(ta)的高度超過(guo)15m以(yi)上,及需滿足以(yi)下(xia)要求時(shi)需要設置吊(diao)柱:有填料(liao)時(shi);有內件及附(fu)件裝卸的情況。
吊(diao)柱布(bu)置應(ying)注意的事(shi)項如(ru)下(xia)。
①. 吊柱下(xia)方地面(mian)應留有(you)充分的作(zuo)業空(kong)間。
②. 應能(neng)達到塔上所有檢修和操作平臺的位置。
③. 在吊柱回(hui)轉(zhuan)覆蓋范圍(wei)內,應有一處能夠避開(kai)所有平臺(tai)和(he)管道(dao)的豎(shu)直通道(dao)。
④. 吊柱(zhu)應布置在檢(jian)修(xiu)側范圍內。
吊柱布置如圖6-86所(suo)示。

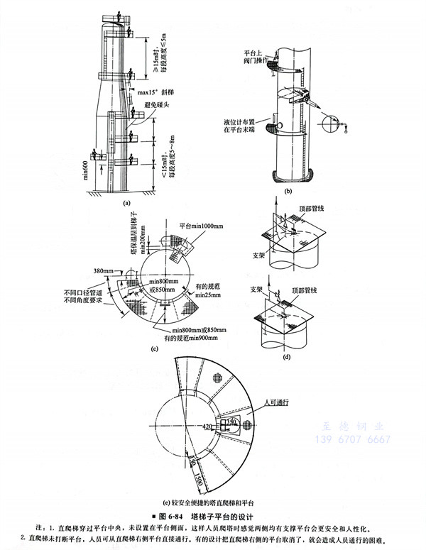
三、梯子
塔器上(shang)的梯(ti)子(zi)幾乎(hu)都是直梯(ti),是上(shang)下各(ge)層平臺以及安全逃生的通道,也可作(zuo)為觀察、操作(zuo)和維修某(mou)些附件的設施。
需要經常上去進行操作和維修工(gong)作的平臺應設(she)置(zhi)梯子;下列附件也(ye)可靠近直梯布置(zhi):3”及(ji)以下的閥;各種(zhong)液位計視鏡;手孔;壓力計等儀表(biao)。
梯子布置應注意(yi)的事項如下:
①. 梯子的布置(zhi)間距(ju)必須(xu)滿足(zu)GB50160《石油化工企業設計防火規范》的規定。
②. 直梯(ti)寬度以(yi)0.4~0.6m為宜(yi),高度超過2m時應加設安全護籠。
③. 塔(ta)平臺直梯應(ying)自下而上分段錯開(kai)布置(zhi)。
④. 高(gao)度在15m及以下時,每段(duan)高(gao)5~8m為宜(yi),超過(guo)15m時,每段(duan)應不高(gao)于5m,否則應設中間休息平臺(按SH3011的規定)。
四、管口方位
塔(ta)的(de)管道與其他設備管道相比(bi),其特點是根(gen)據工(gong)藝要(yao)求安排好管口和塔(ta)盤等內(nei)部結構(gou)的(de)關系,這種關系的(de)好壞對管道布(bu)置的(de)簡化、操作(zuo)的(de)方便、檢修的(de)難易、是否經濟等有很大的(de)影響(xiang)。因此,需要(yao)對塔(ta)的(de)內(nei)部結構(gou)、塔(ta)的(de)操作(zuo)進行充分了(le)解(jie)。
1. 人(ren)(ren)孔(kong) 從檢修和操(cao)作上考慮,人(ren)(ren)孔(kong)方位(wei)應(ying)布置在檢修側(ce),且宜設在同(tong)一垂線(xian)上,但不能朝向加熱爐和其他危險(xian)氣體(ti)發生(sheng)區(qu)域;若有兩臺塔(ta)并列時,人(ren)(ren)孔(kong)應(ying)朝向一致(zhi)(同(tong)一方向)。對有塔(ta)盤(pan)等內部結構的塔(ta),人(ren)(ren)孔(kong)開(kai)(kai)設的方位(wei)必須注意(yi)同(tong)內部構件的關系(xi),應(ying)開(kai)(kai)設在降液管以外的區(qu)域。
①. 塔頂人孔。注(zhu)意到降液盤區即(ji)可,但降液管在300mm以(yi)下時,可圓周(360°)布(bu)置(圖 6-87)
②. 中間人孔。
③. 塔底人孔。


2. 儀(yi)表管口 儀(yi)表最好不要放在(zai)人孔旁(有(you)破(po)損的危險)。
①. 液(ye)(ye)位計(ji)和液(ye)(ye)位調節器(qi)的開口(kou)應(ying)布置(zhi)在便于(yu)監視、檢查及能從抽出泵和調節閥的旁(pang)通處(chu)看得見(jian)的位置(zhi),且(qie)液(ye)(ye)面(mian)應(ying)不受流入液(ye)(ye)體沖擊的影響(xiang)。
②. 液(ye)位(wei)調(diao)節變(bian)送器,應設在(zai)平(ping)臺(tai)或梯(ti)子(zi)上(shang)操(cao)作方便的地方,站在(zai)梯(ti)子(zi)平(ping)臺(tai)上(shang)操(cao)作的液(ye)位(wei)調(diao)節器和液(ye)位(wei)計宜(yi)安裝在(zai)梯(ti)子(zi)的右(you)側(ce)。
③. 液(ye)(ye)(ye)位(wei)(wei)調節器(qi)最適宜的(de)(de)位(wei)(wei)置(zhi),是在檢查液(ye)(ye)(ye)位(wei)(wei)調節器(qi)時,可以看到液(ye)(ye)(ye)位(wei)(wei)計的(de)(de)地方;并應(ying)(ying)考慮由于液(ye)(ye)(ye)相進(jin)料影(ying)響的(de)(de)液(ye)(ye)(ye)位(wei)(wei)波動。當(dang)設置(zhi)的(de)(de)擋板(ban)不能避免液(ye)(ye)(ye)位(wei)(wei)波動時,應(ying)(ying)與設備專業協商解(jie)決液(ye)(ye)(ye)位(wei)(wei)計的(de)(de)方位(wei)(wei),取決于受液(ye)(ye)(ye)槽與重沸(fei)器(qi)返回口間(jian)的(de)(de)關系(圖6-92、圖6-93)。
④. 兩個低溫液位計(ji)不(bu)要靠(kao)在一(yi)起,防止(zhi)“冷(leng)橋”產生(sheng)和結(jie)霜(shuang)(圖6-94)。
⑤. 壓力表開口(kou)和壓差計上(shang)部開口(kou)應(ying)布置在氣(qi)相區。框架內的(de)塔,如果(guo)壓力表、溫度計管口(kou)與結構梁過(guo)于(yu)接近(jin),應(ying)考(kao)慮安(an)裝的(de)可能性,必要時與設備工程師商量以進行修(xiu)改。

3. 回流管、進(jin)料管和抽出管等(deng)布(bu)置(圖(tu)(tu)6-95~圖(tu)(tu)6-97)塔頂(ding)氣(qi)相(xiang)(餾出線)開口(kou)布(bu)置在塔頂(ding)頭蓋中部,安全(quan)閥開口(kou)、放(fang)空管開口(kou)一般布(bu)置在塔頂(ding)氣(qi)相(xiang)開口(kou)的附(fu)近,也可將放(fang)空管開口(kou)布(bu)置在塔頂(ding)氣(qi)相(xiang)管道最高(gao)水平段的頂(ding)部。
塔(ta)頂回(hui)(hui)(hui)流(liu)或中段回(hui)(hui)(hui)流(liu)的(de)開口,一(yi)般布置在塔(ta)板的(de)管道側,回(hui)(hui)(hui)流(liu)管的(de)內部結構和開口方位(wei)與塔(ta)溢流(liu)方式有關。
氣相(xiang)(xiang)進(jin)料開口一(yi)(yi)般(ban)布(bu)置在塔板(ban)上(shang)方,與降液管平行,當氣流速(su)度較高時(shi),應設分(fen)配(pei)管;氣液相(xiang)(xiang)混合進(jin)料開口一(yi)(yi)般(ban)布(bu)置在塔板(ban)上(shang)方,并(bing)設分(fen)配(pei)管,當流速(su)較高時(shi)應切線(xian)進(jin)入,并(bing)設螺旋導板(ban)。
塔(ta)板(ban)(ban)的抽出口(kou):單溢(yi)(yi)流(liu)塔(ta)板(ban)(ban),從流(liu)體的均衡性考慮,開(kai)口(kou)應與受液(ye)(ye)槽垂直布(bu)置;雙溢(yi)(yi)流(liu)塔(ta)板(ban)(ban),無論是一個開(kai)口(kou)或是兩個開(kai)口(kou),開(kai)口(kou)都宜布(bu)置在與降液(ye)(ye)管平行(xing)的塔(ta)中心線(xian)上。


