一(yi)、閥門(men)的選擇和(he)測試準備(bei)
1. 必須提供測試閥(fa)門的填料API622證書或測試報告,將其附在API624低泄漏測試報告中。
2. 需測試(shi)的(de)(de)閥(fa)門(men)應全部(bu)裝(zhuang)配好,以待測試(shi)。閥(fa)門(men)應從生產廠家或分銷商庫存(cun)(cun)處(若(ruo)存(cun)(cun)在此庫存(cun)(cun))隨機選(xuan) 擇(ze)。若(ruo)非庫存(cun)(cun)閥(fa)門(men),廠家需保證被測試(shi)的(de)(de)閥(fa)門(men)之(zhi)前沒有進(jin)行任何修改(gai)以滿足(zu)型式測試(shi)的(de)(de)要求,且此閥(fa)門(men)可 以作為廠家庫存(cun)(cun)產品的(de)(de)典型代表。閥(fa)門(men)的(de)(de)選(xuan)擇(ze)需要得到(dao)購買方的(de)(de)批準。
3. 中道和壓蓋螺栓的(de)扭矩需證實與廠家的(de)發行的(de)安裝規(gui)范一致。
4. 閥(fa)門所有的先期(qi)測(ce)試需記(ji)錄(lu)于低(di)泄漏測(ce)試報告(附件一)中。
5. 作為安全預防措施,在測試之前(qian),需用(yong)惰(duo)性氣體來(lai)清空(kong)閥(fa)門腔內的空(kong)氣。
二、型(xing)式測試
1. 測試(shi)的(de)介質需用最小純度為97%的(de)甲烷。
注(zhu)意:測(ce)試期間使用(yong)的(de)(de)甲(jia)烷是一種加(jia)壓可燃氣體(ti),要求采取(qu)適(shi)當(dang)的(de)(de)安全措施。
a. 閥門(men)的(de)(de)測試(shi)(shi)具(ju)有潛(qian)在的(de)(de)危(wei)險,必須(xu)把人員的(de)(de)安(an)全放(fang)在首位考慮。鑒于此測試(shi)(shi)的(de)(de)性質,可能會發生(sheng)加 壓氣體(ti)危(wei)險的(de)(de)釋放(fang)。需在測試(shi)(shi)封閉區(qu)域提供充分的(de)(de)屏障或隔(ge)離以(yi)及恰當的(de)(de)人員保護(hu)措施(shi)。
b. 測試(shi)(shi)設施需設計成可確保(bao)所有的(de)(de)(de)測試(shi)(shi)狀況是在安全,有保(bao)護的(de)(de)(de)環境下(xia)進行(xing)。測試(shi)(shi)廠家有責任去分析 由于壓力(li)和溫度造(zao)成的(de)(de)(de)危(wei)害(hai),并作出(chu)適當的(de)(de)(de)安全保(bao)護措(cuo)施。應遵守(shou)所有可適用(yong)的(de)(de)(de)安全法規。
c. 所有的設備需有相(xiang)應的證書證明其可以承受最(zui)(zui)小和最(zui)(zui)大的壓力(li)以及測(ce)試(shi)環境的溫度。
d. 供(gong)應(ying)甲烷的(de)進口(kou)和出(chu)口(kou)所(suo)用(yong)(yong)的(de)軟管和管道應(ying)可適用(yong)(yong)最(zui)大(da)和最(zui)小壓力和溫度。當用(yong)(yong)到(dao)軟管時,需設計 適當的(de)控制系統來防止萬一發(fa)生介(jie)質吹(chui)出(chu)時,軟管從測試臺面分離。
e. 所有測試需遵守當地和國家的相關法律(lv)法規。
2. 測試(shi)的(de)閥(fa)門的(de)閥(fa)桿(gan)方向需是(shi)垂直(zhi)的(de)。
3. 閥門需根據圖1進行總共310個(ge)機械循(xun)環(huan)和3個(ge)熱循(xun)環(huan)周期。
閥門在室溫情(qing)況(kuang)下開始(shi)做(zuo)機械循環。若買(mai)方(fang) 有(you)要求,可選做(zuo)在–29 °C (–20 °F)的低溫測試(見圖1)

4. 閥門可用內部熱源或者如電熱毯,線(xian)圈等外部熱源來(lai)(lai)加熱,也可用其他合適(shi)的設(she)備或適(shi)當的內部熱源 來(lai)(lai)加熱。
5. 加熱(re)溫(wen)度應升高至260 °C (500 °F) ±5%
6. 可適用的(de)材料的(de)測試(shi)壓(ya)(ya)力(li)需(xu)低于41.4barg(600psig),或根(gen)據ASME B16.34在(zai) 260 °C (500 °F)下的(de) 最大允許(xu)壓(ya)(ya)力(li)值,并且在(zai)整(zheng)個(ge)測試(shi)期間保持不變。
7. 測試的閥(fa)門可(ke)安裝(zhuang)一種使閥(fa)門機(ji)械循(xun)環的驅動(dong)(dong)。此驅動(dong)(dong)不可(ke)強加給閥(fa)桿或填料額外的側邊載(zai)荷(he)。第(di)一 次(ci)和最后(hou)一次(ci)的測試需(xu)記錄運行(xing)扭(niu)矩(ju)值。
8. 需(xu)記錄靜態(tai)和動態(tai)的閥桿(gan)泄(xie)漏測量值(zhi)。
a. 泄(xie)漏需在靜態(tai)空氣中進行測量。
測試期間應使(shi)用鋁箔外(wai)殼來屏蔽受(shou)環境影(ying)響的潛在的滲漏(lou)通路。鋁 箔外(wai)殼應包括(kuo)閥桿外(wai)徑和填料的外(wai)徑。
b. 需對中(zhong)道連(lian)接(jie)和輔(fu)助連(lian)接(jie)進行(xing)泄(xie)漏探測(ce)。
中道(dao)連接(jie)和(he)輔助連接(jie)的泄漏會(hui)影響泄漏測(ce)量的讀數(shu),應在(zai) 測(ce)試(shi)之前糾(jiu)正過來,并(bing)在(zai)報告中記錄。閥蓋的探測(ce)針(zhen)頭的速率(lv)應該在(zai)每秒25mm(1英寸(cun))。應調整儀器來彌補 后臺的甲烷(wan)水平。
c. 應(ying)在以設備反應(ying)時(shi)間兩(liang)倍的時(shi)間延遲后,記(ji)錄靜態/動態泄漏(lou)。
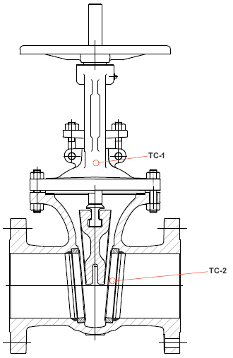
9. 閥門應配備熱電偶來監(jian)(jian)測(ce)測(ce)試期間的溫(wen)度。應在兩(liang)個位置監(jian)(jian)測(ce)并記錄溫(wen)度。(見(jian)圖(tu)2)

a. TC-1處,附(fu)在(zai)填(tian)料箱上。附(fu)在(zai)填(tian)料箱上的(de)熱電偶需控制溫(wen)度。
b. TC-2處,固(gu)定(ding)在(zai)閥體(ti)外部,臨近流通(tong)路徑的地方,可(ke)作(zuo)為參考測(ce)量。
c. TC-2處,需與TC-1處值同(tong)等或大于TC-1處。
10. 不允許在型式測試過程中調整(zheng)填料(liao)。
浙江至德鋼業有限公司專業生產不銹鋼管及管道連接配件廠家,倉庫常備不銹鋼管庫存1000余噸及部分不銹鋼法蘭管件(彎頭|三通|大小頭)現貨,常用規格可當天發貨。另可提供各種不銹鋼管切割、拋光、折彎、鉆孔、焊接、車床加工及管道預制件加工等配套服務。

