①. 往復泵的管道存在著由于流體脈動而發生振動的現象,管道應盡量減少拐彎。
②. 為防止往復(fu)泵(beng)管(guan)道的(de)脈沖振動,泵(beng)出口管(guan)道第一(yi)個(ge)支(zhi)(zhi)架(jia)應(ying)采(cai)用(yong)固定架(jia),其(qi)余(yu)支(zhi)(zhi)架(jia)應(ying)采(cai)用(yong)防振管(guan)卡,同時(shi)注意(yi)減小支(zhi)(zhi)架(jia)跨距,增加支(zhi)(zhi)架(jia)剛度(du),以抑制可能產生的(de)機械(xie)振動。
③. 除注意上(shang)述要求外(wai),還應(ying)根據工藝(yi)要求及泵(beng)制造廠的使用(yong)經驗。
④. 在(zai)泵出(chu)口(或盡(jin)量靠近出(chu)口)處安裝足夠(gou)容積(ji)的緩沖罐(或脈(mo)(mo)動衰(shuai)減器),以緩解或消除所(suo)產生的脈(mo)(mo)沖振(zhen)動。
⑤. 當輸送介質溫度高于180℃時,減振緩沖罐的連接管應(ying)有3m左右長度的不保溫管段(duan)(圖(tu)6-178)。

⑥. 在泵的(de)前端應留(liu)有(you)活(huo)塞桿(gan)抽(chou)出(chu)檢(jian)修(xiu)的(de)空間;管道布置(zhi)不應妨礙活(huo)塞及(ji)拉桿(gan)的(de)拆卸(xie)和檢(jian)修(xiu)。
⑦. 在泵和第一個容(rong)器之間的(de)進出(chu)口(kou)(kou)管道上的(de)支管公稱直徑小于(yu)或等于(yu)25mm(包括出(chu)口(kou)(kou)管道上的(de)壓力表)時(shi),接(jie)口(kou)(kou)根部(bu)需設加強(qiang)連接(jie)板,以防止(zhi)管接(jie)口(kou)(kou)損壞。
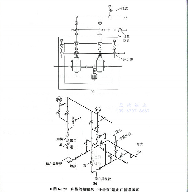
⑧. 典型的柱塞泵(計量泵)進(jin)出口管(guan)道布置如圖6-179所示(shi)。


