壓力(li)(li)對鑄(zhu)(zhu)錠的凝(ning)固相(xiang)(xiang)變和(he)(he)(he)組(zu)織有(you)十分重要的影響,如壓力(li)(li)能提(ti)高晶粒形(xing)(xing)核(he)速率(lv),減小臨界形(xing)(xing)核(he)半徑,增(zeng)大冷(leng)卻速率(lv),細化枝晶組(zu)織,減輕(qing)或(huo)消除凝(ning)固缺陷(xian)(疏(shu)松、縮孔、氣孔和(he)(he)(he)偏(pian)析)以(yi)及改(gai)變析出(chu)相(xiang)(xiang)形(xing)(xing)貌(mao)和(he)(he)(he)類型等(deng)。由于鋼鐵材料(liao)固/液相(xiang)(xiang)線溫度(du)較(jiao)高,加壓難度(du)相(xiang)(xiang)對較(jiao)大,不過,較(jiao)低壓力(li)(li)依然具有(you)改(gai)善鑄(zhu)(zhu)型和(he)(he)(he)鑄(zhu)(zhu)錠間換熱(re)條件、打破(po)液相(xiang)(xiang)中氮氣泡(pao)等(deng)壓力(li)(li)平衡的能力(li)(li),進而達到改(gai)善鋼鐵凝(ning)固組(zu)織,減輕(qing)或(huo)消除凝(ning)固缺陷(xian)等(deng)目的。
一、枝晶組織
枝晶(jing)(jing)組織的(de)出現和生(sheng)長與液(ye)相(xiang)中(zhong)(zhong)的(de)成分(fen)(fen)(fen)過(guo)冷密不(bu)可(ke)分(fen)(fen)(fen),當凝固界面(mian)出現擾動(dong)(dong)導致(zhi)液(ye)相(xiang)出現局(ju)部(bu)成分(fen)(fen)(fen)過(guo)冷時,液(ye)相(xiang)中(zhong)(zhong)就具備了促使(shi)界面(mian)發生(sheng)波動(dong)(dong)的(de)驅動(dong)(dong)力,進一步增(zeng)大了凝固界面(mian)的(de)不(bu)穩(wen)定性,從而使(shi)凝固界面(mian)從平面(mian)狀(zhuang)(zhuang)向樹枝狀(zhuang)(zhuang)轉(zhuan)變(bian),形成枝晶(jing)(jing)組織,液(ye)相(xiang)中(zhong)(zhong)成分(fen)(fen)(fen)過(guo)冷的(de)判據為(wei)
式(shi)中,GrL為(wei)(wei)液(ye)(ye)相(xiang)(xiang)(xiang)(xiang)(xiang)溫度(du)梯(ti)度(du);v為(wei)(wei)凝固(gu)(gu)(gu)速(su)率(lv);m為(wei)(wei)液(ye)(ye)相(xiang)(xiang)(xiang)(xiang)(xiang)線(xian)斜率(lv);CL為(wei)(wei)凝固(gu)(gu)(gu)界面處(chu)液(ye)(ye)相(xiang)(xiang)(xiang)(xiang)(xiang)中溶(rong)質(zhi)(zhi)的(de)(de)質(zhi)(zhi)量分(fen)數(shu)(shu);DL為(wei)(wei)液(ye)(ye)相(xiang)(xiang)(xiang)(xiang)(xiang)中溶(rong)質(zhi)(zhi)的(de)(de)擴(kuo)(kuo)散系數(shu)(shu);ko為(wei)(wei)溶(rong)質(zhi)(zhi)分(fen)配系數(shu)(shu)。在(zai)不(bu)考慮壓(ya)(ya)力(li)(li)(li)強化冷卻(即GrL保持恒定)情(qing)況下(xia),壓(ya)(ya)力(li)(li)(li)可(ke)通過改(gai)變(bian)(bian)液(ye)(ye)相(xiang)(xiang)(xiang)(xiang)(xiang)線(xian)斜率(lv)、擴(kuo)(kuo)散系數(shu)(shu)和(he)(he)溶(rong)質(zhi)(zhi)分(fen)配系數(shu)(shu)等凝固(gu)(gu)(gu)參數(shu)(shu),改(gai)變(bian)(bian)枝晶(jing)(jing)(jing)(jing)形貌甚至凝固(gu)(gu)(gu)組織(zhi)(zhi)的(de)(de)組成。Zhang等對比了(le)高錳鋼(Fe-13Mn-1.2C)在(zai)常(chang)壓(ya)(ya)和(he)(he)6GPa下(xia)的(de)(de)凝固(gu)(gu)(gu)組織(zhi)(zhi)。發現高錳鋼高壓(ya)(ya)下(xia)的(de)(de)凝固(gu)(gu)(gu)組織(zhi)(zhi)包含細(xi)小等軸晶(jing)(jing)(jing)(jing)和(he)(he)柱(zhu)狀晶(jing)(jing)(jing)(jing),與常(chang)壓(ya)(ya)下(xia)的(de)(de)凝固(gu)(gu)(gu)組織(zhi)(zhi)截(jie)然不(bu)同(圖2-107).晶(jing)(jing)(jing)(jing)粒尺寸(cun)統(tong)計結果表明,高錳鋼在(zai)常(chang)壓(ya)(ya)下(xia)的(de)(de)晶(jing)(jing)(jing)(jing)粒尺寸(cun)為(wei)(wei)(160±45)μm,6GPa下(xia)為(wei)(wei)(7.5±2.5)μm,壓(ya)(ya)力(li)(li)(li)細(xi)化晶(jing)(jing)(jing)(jing)粒可(ke)達21倍之多,主要(yao)歸因(yin)于增(zeng)加凝固(gu)(gu)(gu)壓(ya)(ya)力(li)(li)(li)降(jiang)低了(le)液(ye)(ye)相(xiang)(xiang)(xiang)(xiang)(xiang)中溶(rong)質(zhi)(zhi)擴(kuo)(kuo)散系數(shu)(shu)以及增(zeng)大了(le)擴(kuo)(kuo)散激活能,進而(er)增(zeng)大了(le)液(ye)(ye)相(xiang)(xiang)(xiang)(xiang)(xiang)成分(fen)過冷度(du),在(zai)抑制枝晶(jing)(jing)(jing)(jing)生(sheng)長的(de)(de)同時增(zeng)大了(le)形核率(lv)[129,153],從而(er)使(shi)得高錳鋼凝固(gu)(gu)(gu)組織(zhi)(zhi)逐步向枝晶(jing)(jing)(jing)(jing)組織(zhi)(zhi)轉變(bian)(bian),且細(xi)化十分(fen)顯著。Kashchiev和(he)(he)Vasudevan等的(de)(de)研究表明。在(zai)凝固(gu)(gu)(gu)過程中,當固(gu)(gu)(gu)相(xiang)(xiang)(xiang)(xiang)(xiang)摩(mo)爾(er)(er)體積(ji)小于液(ye)(ye)相(xiang)(xiang)(xiang)(xiang)(xiang)摩(mo)爾(er)(er)體積(ji)時,加壓(ya)(ya)有助于提高形核率(lv),起到細(xi)化凝固(gu)(gu)(gu)組織(zhi)(zhi)的(de)(de)作用(yong),大多數(shu)(shu)金(jin)屬合金(jin)屬于此類;反(fan)之,加壓(ya)(ya)將抑制晶(jing)(jing)(jing)(jing)粒的(de)(de)形核,如(ru)水凝固(gu)(gu)(gu)成冰(bing)。此外,壓(ya)(ya)力(li)(li)(li)還能夠(gou)抑制枝晶(jing)(jing)(jing)(jing)沿壓(ya)(ya)力(li)(li)(li)梯(ti)度(du)方(fang)向的(de)(de)生(sheng)長,從而(er)導(dao)致(zhi)枝晶(jing)(jing)(jing)(jing)組織(zhi)(zhi)和(he)(he)微觀(guan)偏析呈現方(fang)向性。

為了準確地論述壓(ya)(ya)力對凝固組(zu)織(zhi)的影(ying)響規(gui)律(lv),本(ben)節將以19Cr14Mn0.9N含氮鋼和M42工具鋼加壓(ya)(ya)凝固組(zu)織(zhi)為例(li),詳細分析壓(ya)(ya)力對枝(zhi)晶組(zu)織(zhi)、析出相(xiang)等的影(ying)響。
1. 柱狀晶向等軸(zhou)晶轉(zhuan)變(CET)
鑄錠的(de)(de)(de)宏觀(guan)組織主要由晶(jing)(jing)(jing)(jing)粒的(de)(de)(de)形(xing)貌、尺寸以及取(qu)向(xiang)(xiang)分(fen)布(bu)等構成(cheng)(cheng)(cheng)(cheng),在合金成(cheng)(cheng)(cheng)(cheng)分(fen)一(yi)定(ding)的(de)(de)(de)情況下,它主要取(qu)決于鋼(gang)液在凝固(gu)(gu)過程中(zhong)的(de)(de)(de)冷(leng)(leng)(leng)卻條件(包括澆注溫度(du)(du)和鑄型(xing)的(de)(de)(de)冷(leng)(leng)(leng)卻效(xiao)果等。鑄錠的(de)(de)(de)典型(xing)宏觀(guan)組織可(ke)分(fen)為(wei)三個區(qu)(qu):表(biao)層(ceng)(ceng)細(xi)(xi)晶(jing)(jing)(jing)(jing)區(qu)(qu)、柱狀晶(jing)(jing)(jing)(jing)區(qu)(qu)以及中(zhong)心(xin)等軸晶(jing)(jing)(jing)(jing)區(qu)(qu)。表(biao)層(ceng)(ceng)的(de)(de)(de)細(xi)(xi)晶(jing)(jing)(jing)(jing)區(qu)(qu)是由于鋼(gang)液在鑄型(xing)的(de)(de)(de)激冷(leng)(leng)(leng)作用(yong)下,具(ju)有(you)較(jiao)大(da)的(de)(de)(de)過冷(leng)(leng)(leng)度(du)(du),進(jin)而(er)(er)在鑄型(xing)壁面以異質形(xing)核(he)的(de)(de)(de)方(fang)(fang)(fang)式大(da)量形(xing)核(he)并長(chang)(chang)(chang)大(da),最后(hou)形(xing)成(cheng)(cheng)(cheng)(cheng)細(xi)(xi)小(xiao)的(de)(de)(de)等軸晶(jing)(jing)(jing)(jing)區(qu)(qu),即表(biao)層(ceng)(ceng)細(xi)(xi)晶(jing)(jing)(jing)(jing)區(qu)(qu)。隨著凝固(gu)(gu)的(de)(de)(de)進(jin)行,表(biao)層(ceng)(ceng)細(xi)(xi)晶(jing)(jing)(jing)(jing)區(qu)(qu)逐步(bu)形(xing)成(cheng)(cheng)(cheng)(cheng)金屬(shu)外殼,使(shi)得傳(chuan)熱具(ju)備(bei)單(dan)向(xiang)(xiang)性,有(you)助于晶(jing)(jing)(jing)(jing)粒沿傳(chuan)熱方(fang)(fang)(fang)向(xiang)(xiang)生(sheng)(sheng)長(chang)(chang)(chang),呈現出方(fang)(fang)(fang)向(xiang)(xiang)性,從而(er)(er)形(xing)成(cheng)(cheng)(cheng)(cheng)柱狀晶(jing)(jing)(jing)(jing)區(qu)(qu),也導致了(le)表(biao)層(ceng)(ceng)細(xi)(xi)晶(jing)(jing)(jing)(jing)區(qu)(qu)的(de)(de)(de)區(qu)(qu)域窄小(xiao),厚度(du)(du)通(tong)常為(wei)幾毫米(mi)。在后(hou)續(xu)的(de)(de)(de)凝固(gu)(gu)過程中(zhong),伴(ban)隨著凝固(gu)(gu)潛熱的(de)(de)(de)釋放,凝固(gu)(gu)前(qian)沿溫度(du)(du)梯度(du)(du)減(jian)小(xiao),傳(chuan)熱的(de)(de)(de)單(dan)向(xiang)(xiang)性減(jian)弱,成(cheng)(cheng)(cheng)(cheng)分(fen)過冷(leng)(leng)(leng)度(du)(du)增大(da),進(jin)而(er)(er)使(shi)得晶(jing)(jing)(jing)(jing)粒生(sheng)(sheng)長(chang)(chang)(chang)的(de)(de)(de)方(fang)(fang)(fang)向(xiang)(xiang)性減(jian)弱,抑(yi)制了(le)柱狀晶(jing)(jing)(jing)(jing)的(de)(de)(de)生(sheng)(sheng)長(chang)(chang)(chang),同(tong)時也促進(jin)了(le)鑄錠心(xin)部異質形(xing)核(he)的(de)(de)(de)發生(sheng)(sheng),從而(er)(er)有(you)助于柱狀晶(jing)(jing)(jing)(jing)向(xiang)(xiang)等軸晶(jing)(jing)(jing)(jing)轉變(bian),最終形(xing)成(cheng)(cheng)(cheng)(cheng)中(zhong)心(xin)等軸晶(jing)(jing)(jing)(jing)區(qu)(qu)。
因此,鑄(zhu)錠(ding)有兩類枝(zhi)(zhi)(zhi)晶(jing)(jing)(jing)組織,即等(deng)(deng)(deng)軸(zhou)晶(jing)(jing)(jing)和(he)(he)(he)柱(zhu)(zhu)狀(zhuang)晶(jing)(jing)(jing),通(tong)常采用枝(zhi)(zhi)(zhi)晶(jing)(jing)(jing)間距(ju)和(he)(he)(he)CET位置對其(qi)進行表(biao)征(zheng)。圖2-108(a)給出了(le)凝(ning)固壓(ya)(ya)力(li)分(fen)別為0.5MPa、0.85MPa和(he)(he)(he)1.2MPa的(de)(de)19Cr14Mn0.9N含氮鋼(gang)鑄(zhu)錠(ding)縱(zong)剖面(mian)(mian)上的(de)(de)宏(hong)觀組織;CET位置到(dao)鑄(zhu)錠(ding)邊部(bu)距(ju)離(li)的(de)(de)統計平均值分(fen)別為19.8mm、22.1mm和(he)(he)(he)27.4mm,增(zeng)(zeng)(zeng)量可(ke)達7.6mm,如(ru)圖2-108(b)所示(shi)。統計結果表(biao)明,隨(sui)著壓(ya)(ya)力(li)的(de)(de)增(zeng)(zeng)(zeng)大(da)(da),CET 位置逐漸(jian)由邊部(bu)向心(xin)部(bu)移動(dong),柱(zhu)(zhu)狀(zhuang)晶(jing)(jing)(jing)區(qu)區(qu)域增(zeng)(zeng)(zeng)大(da)(da),中(zhong)心(xin)等(deng)(deng)(deng)軸(zhou)晶(jing)(jing)(jing)區(qu)區(qu)域減小。根據柱(zhu)(zhu)狀(zhuang)晶(jing)(jing)(jing)向等(deng)(deng)(deng)軸(zhou)晶(jing)(jing)(jing)轉(zhuan)(zhuan)變的(de)(de)阻擋(dang)判據可(ke)知[156],當柱(zhu)(zhu)狀(zhuang)晶(jing)(jing)(jing)枝(zhi)(zhi)(zhi)晶(jing)(jing)(jing)尖(jian)端(duan)處等(deng)(deng)(deng)軸(zhou)晶(jing)(jing)(jing)體積分(fen)數大(da)(da)于臨界值時,柱(zhu)(zhu)狀(zhuang)晶(jing)(jing)(jing)尖(jian)端(duan)生長(chang)受到(dao)抑制而停止,此時發(fa)生柱(zhu)(zhu)狀(zhuang)晶(jing)(jing)(jing)區(qu)向中(zhong)心(xin)等(deng)(deng)(deng)軸(zhou)晶(jing)(jing)(jing)區(qu)轉(zhuan)(zhuan)變。因此,CET轉(zhuan)(zhuan)變很大(da)(da)程度(du)上取決(jue)于中(zhong)心(xin)等(deng)(deng)(deng)軸(zhou)晶(jing)(jing)(jing)的(de)(de)形核和(he)(he)(he)長(chang)大(da)(da)。由于壓(ya)(ya)力(li)強(qiang)化(hua)冷卻效果十分(fen)明顯(xian),增(zeng)(zeng)(zeng)加(jia)(jia)壓(ya)(ya)力(li)加(jia)(jia)快了(le)鑄(zhu)錠(ding)的(de)(de)冷卻,增(zeng)(zeng)(zeng)大(da)(da)了(le)鑄(zhu)錠(ding)的(de)(de)溫度(du)梯度(du),從而降低(di)(di)了(le)枝(zhi)(zhi)(zhi)晶(jing)(jing)(jing)前沿的(de)(de)成(cheng)分(fen)過冷度(du),此時,等(deng)(deng)(deng)軸(zhou)晶(jing)(jing)(jing)在(zai)柱(zhu)(zhu)狀(zhuang)晶(jing)(jing)(jing)枝(zhi)(zhi)(zhi)晶(jing)(jing)(jing)尖(jian)端(duan)的(de)(de)形核和(he)(he)(he)長(chang)大(da)(da)就會受到(dao)嚴重阻礙(ai)和(he)(he)(he)抑制;反之,降低(di)(di)壓(ya)(ya)力(li),有助于等(deng)(deng)(deng)軸(zhou)晶(jing)(jing)(jing)在(zai)柱(zhu)(zhu)狀(zhuang)晶(jing)(jing)(jing)枝(zhi)(zhi)(zhi)晶(jing)(jing)(jing)尖(jian)端(duan)處的(de)(de)形核和(he)(he)(he)長(chang)大(da)(da),從而提(ti)前并加(jia)(jia)快了(le)CET.因此,當壓(ya)(ya)力(li)從0.5MPa增(zeng)(zeng)(zeng)加(jia)(jia)到(dao)1.2MPa時,壓(ya)(ya)力(li)通(tong)過強(qiang)化(hua)冷卻擴大(da)(da)了(le)柱(zhu)(zhu)狀(zhuang)晶(jing)(jing)(jing)區(qu),促使CET轉(zhuan)(zhuan)變位置在(zai)徑向上逐漸(jian)由邊部(bu)向心(xin)部(bu)移動(dong)。此外(wai),在(zai)0.5MPa、0.85MPa和(he)(he)(he)1.2MPa下,19Cr14Mn0.9N含氮鋼(gang)鑄(zhu)錠(ding)縱(zong)剖面(mian)(mian)的(de)(de)宏(hong)觀組織中(zhong)均存在(zai)較(jiao)窄的(de)(de)表(biao)層細晶(jing)(jing)(jing)區(qu)。
為了進一步研究(jiu)壓(ya)力對(dui)CET的影(ying)響規(gui)律(lv),在不(bu)考慮壓(ya)力強(qiang)化冷卻效果的前提下,對(dui)枝(zhi)晶尖(jian)端(duan)生(sheng)長(chang)速率v.隨壓(ya)力的變化規(gui)律(lv)進行理(li)論計(ji)算(suan),可(ke)采(cai)用KGT模(mo)型,,即


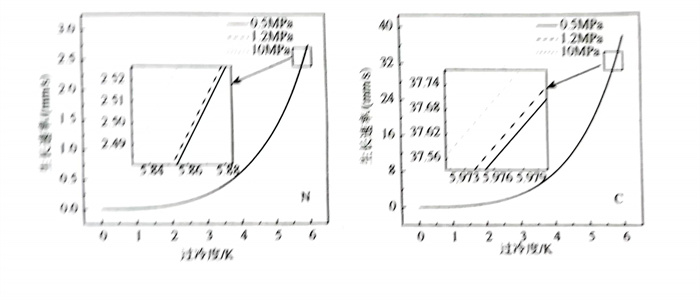
基于2.3.2節分析所得ko和D等相關參數隨壓力的變化規律,結合式(2-188)和式(2-189)可得出不同過冷度下壓力對枝晶尖端生長速率的影響規律。對于19Cr14Mn0.9N 含氮鋼體系,當枝晶尖端的成分過冷度由某一元素偏聚造成時,壓力對枝晶尖端生長速率影響規律如圖2-109所示;當枝晶尖端的過冷度分別由錳和鉬造成時,增加壓力降低了枝晶尖端生長速率;當枝晶尖端的過冷度分別由鉻、碳和氮造成時,增加壓力會增大枝晶尖端生長速率。此外,隨著過冷度的增加,壓力對枝晶尖端生長速率的影響隨之增大;對比0.5MPa和10MPa下的枝晶生長尖端速率可知,枝晶尖端生長速率因壓力改變的變化量可達0.1mm/s,并且壓力越大,枝晶尖端生長速率的變化量越大;因而在高壓下,不考慮壓力強化冷卻效果時,壓力對枝晶尖端生長速率的影響也較大,進而影響CET位置。然而,當壓力從0.5MPa增加至1.2MPa,且不考慮壓力強化冷卻效果時,壓力對枝晶尖端的生長速率的影響較小,可以忽略不計。


綜上所(suo)述(shu),凝固壓(ya)力(li)(li)的增(zeng)加(jia)會對枝(zhi)晶尖端生長(chang)速率(lv)產生重(zhong)要影(ying)響(xiang),且壓(ya)力(li)(li)的增(zeng)量越大,影(ying)響(xiang)越明顯。結合(he)實驗和(he)KGT模(mo)型理(li)論計(ji)算可知(zhi),低壓(ya)下,當(dang)凝固壓(ya)力(li)(li)從0.5MPa 增(zeng)加(jia)至1.2MPa時,壓(ya)力(li)(li)主要通過強化冷(leng)卻(que)的方式(shi),使得鑄錠CET位置逐漸由(you)邊部(bu)向心(xin)部(bu)移動(dong)。
2. 枝晶間(jian)距
相鄰同次枝(zhi)(zhi)(zhi)晶(jing)臂之間(jian)(jian)(jian)的(de)垂直距(ju)離稱(cheng)為枝(zhi)(zhi)(zhi)晶(jing)間(jian)(jian)(jian)距(ju),枝(zhi)(zhi)(zhi)晶(jing)間(jian)(jian)(jian)距(ju)的(de)大小表征了(le)枝(zhi)(zhi)(zhi)晶(jing)組織細化程度,枝(zhi)(zhi)(zhi)晶(jing)間(jian)(jian)(jian)距(ju)越小,枝(zhi)(zhi)(zhi)晶(jing)組織越細密[162],通(tong)常考慮的(de)枝(zhi)(zhi)(zhi)晶(jing)間(jian)(jian)(jian)距(ju)有一次枝(zhi)(zhi)(zhi)晶(jing)間(jian)(jian)(jian)距(ju)入1和二次枝(zhi)(zhi)(zhi)晶(jing)間(jian)(jian)(jian)距(ju)λ2.一次枝(zhi)(zhi)(zhi)晶(jing)間(jian)(jian)(jian)距(ju)與凝固速率v和溫度梯度Gr的(de)關系為

由(you)式(2-191)可知,合金(jin)體系一(yi)定時(shi),分(fen)析局部(bu)區(qu)(qu)域冷(leng)卻(que)速率(lv)v.和(he)溫(wen)度梯度Gr隨壓(ya)力的(de)(de)(de)變(bian)化趨勢,有助于闡明壓(ya)力對(dui)一(yi)次枝晶(jing)間(jian)距λ1的(de)(de)(de)影響(xiang)規律。因(yin)局部(bu)區(qu)(qu)域冷(leng)卻(que)速率(lv)vc和(he)溫(wen)度梯度Gr的(de)(de)(de)測量難度較大,可用(yong)模(mo)擬(ni)(ni)計算的(de)(de)(de)方式獲得(de)。在不同凝固壓(ya)力下的(de)(de)(de)組織模(mo)擬(ni)(ni)過程中(zhong),不考(kao)慮疏松縮(suo)孔對(dui)晶(jing)區(qu)(qu)分(fen)布的(de)(de)(de)影響(xiang),模(mo)擬(ni)(ni)結果如圖2-110所示。為(wei)了更準確地找到CET位(wei)置(zhi),使用(yong)平均縱橫比(bi)(晶(jing)粒最短邊(bian)與(yu)最長邊(bian)的(de)(de)(de)比(bi)率(lv))來區(qu)(qu)分(fen)柱狀晶(jing)和(he)等軸晶(jing):當(dang)晶(jing)粒的(de)(de)(de)縱橫比(bi)大于0.4時(shi),晶(jing)粒為(wei)等軸晶(jing);當(dang)晶(jing)粒的(de)(de)(de)縱橫比(bi)小于0.4時(shi),則(ze)為(wei)柱狀晶(jing)。根據(ju)阻擋判據(ju),等軸晶(jing)體積分(fen)數的(de)(de)(de)臨界值設定為(wei)0.49,以此作為(wei)依據(ju),19Cr14Mn0.9N含(han)氮(dan)鋼在0.5MPa、0.85MPa 和(he)1.2MPa 壓(ya)力下,CET 位(wei)置(zhi)在徑向上離鑄錠(ding)邊(bian)部(bu)的(de)(de)(de)平均距離分(fen)別為(wei)18.1mm、19.8mm和(he)25.3mm.

19Cr14Mn0.9N 含(han)氮鋼鑄(zhu)錠(ding)(ding)底部(bu)(bu)(bu)(bu)溫度梯度 Gr和冷卻速率v.隨(sui)壓(ya)(ya)力的(de)(de)(de)變化規(gui)律,如圖2-111所示。在(zai)(zai)某一(yi)(yi)(yi)壓(ya)(ya)力條(tiao)件下,vc和Gr沿(yan)徑向(xiang)由鑄(zhu)錠(ding)(ding)邊(bian)部(bu)(bu)(bu)(bu)到心(xin)部(bu)(bu)(bu)(bu)均呈(cheng)現(xian)逐(zhu)(zhu)漸減(jian)(jian)(jian)(jian)小(xiao)的(de)(de)(de)趨勢,結(jie)合式(shi)(2-190)可知(zhi),一(yi)(yi)(yi)次枝晶(jing)(jing)間(jian)距(ju)(ju)入1與v.和Gr成反比,因(yin)而1沿(yan)徑向(xiang)由邊(bian)部(bu)(bu)(bu)(bu)到心(xin)部(bu)(bu)(bu)(bu)逐(zhu)(zhu)漸增(zeng)大(da)(da)(da)。當壓(ya)(ya)力從0.5MPa增(zeng)加(jia)至(zhi)1.2MPa時(shi),在(zai)(zai)壓(ya)(ya)力強化冷卻的(de)(de)(de)作(zuo)用(yong)下,鑄(zhu)錠(ding)(ding)內各單(dan)元體(ti)的(de)(de)(de)vc和Gr隨(sui)之增(zeng)大(da)(da)(da),且對鑄(zhu)錠(ding)(ding)邊(bian)緣處的(de)(de)(de)單(dan)元體(ti)影(ying)(ying)響最大(da)(da)(da),在(zai)(zai)沿(yan)徑向(xiang)向(xiang)心(xin)部(bu)(bu)(bu)(bu)移動的(de)(de)(de)過程中(zhong),壓(ya)(ya)力對vc和Gr的(de)(de)(de)影(ying)(ying)響逐(zhu)(zhu)步減(jian)(jian)(jian)(jian)弱。結(jie)合式(shi)(2-190)可知(zhi),一(yi)(yi)(yi)次枝晶(jing)(jing)間(jian)距(ju)(ju)入1隨(sui)著vc和Gr的(de)(de)(de)增(zeng)大(da)(da)(da)呈(cheng)冪函數減(jian)(jian)(jian)(jian)小(xiao)。因(yin)此,隨(sui)著壓(ya)(ya)力增(zeng)加(jia),一(yi)(yi)(yi)次枝晶(jing)(jing)間(jian)距(ju)(ju)入1減(jian)(jian)(jian)(jian)小(xiao),且越(yue)靠近鑄(zhu)錠(ding)(ding)邊(bian)部(bu)(bu)(bu)(bu),入減(jian)(jian)(jian)(jian)小(xiao)趨勢越(yue)明顯,即壓(ya)(ya)力對柱狀晶(jing)(jing)一(yi)(yi)(yi)次枝晶(jing)(jing)間(jian)距(ju)(ju)的(de)(de)(de)影(ying)(ying)響大(da)(da)(da)于(yu)中(zhong)心(xin)等軸晶(jing)(jing)區。

由邊部(bu)到心部(bu)逐漸增大,結合式(2-192)可(ke)知,鑄錠心部(bu)的二次枝晶(jing)間(jian)距(ju)入2大于邊部(bu);壓力從0.5MPa增加至1.2MPa時,LST明顯減小(xiao),二次枝晶(jing)間(jian)距(ju)入2也(ye)隨之減小(xiao)。

圖(tu)(tu)2-112 不同(tong)(tong)壓(ya)(ya)力(li)下(xia)距(ju)離19Cr14Mn0.9N含(han)氮鋼鑄(zhu)錠(ding)底(di)(di)部130mm處(chu)LST計算(suan)值由(you)于等軸晶(jing)(jing)(jing)的(de)(de)一次枝(zhi)晶(jing)(jing)(jing)臂彼此(ci)相(xiang)交(jiao)且沿徑向(xiang)以(yi)(yi)幾乎相(xiang)同(tong)(tong)的(de)(de)速率(lv)向(xiang)四(si)周生長(chang),同(tong)(tong)時(shi)不同(tong)(tong)等軸晶(jing)(jing)(jing)間(jian)(jian)(jian)(jian)不存在(zai)(zai)任何確定的(de)(de)位(wei)向(xiang)關系(xi),難以(yi)(yi)通(tong)過實(shi)驗對等軸晶(jing)(jing)(jing)的(de)(de)一次晶(jing)(jing)(jing)間(jian)(jian)(jian)(jian)距(ju)進(jin)行測(ce)量(liang),因(yin)此(ci)只對CET前柱狀晶(jing)(jing)(jing)的(de)(de)一次枝(zhi)晶(jing)(jing)(jing)間(jian)(jian)(jian)(jian)距(ju)進(jin)行測(ce)量(liang)。圖(tu)(tu)2-113給(gei)出了距(ju)19Cr14Mn0.9N含(han)氮鋼鑄(zhu)錠(ding)底(di)(di)部115mm的(de)(de)高度處(chu)一次枝(zhi)晶(jing)(jing)(jing)間(jian)(jian)(jian)(jian)距(ju)入1和(he)(he)二次枝(zhi)晶(jing)(jing)(jing)間(jian)(jian)(jian)(jian)距(ju)x2的(de)(de)變(bian)化規律,在(zai)(zai)某一壓(ya)(ya)力(li)下(xia),沿徑向(xiang)由(you)鑄(zhu)錠(ding)邊(bian)部向(xiang)心部移動(dong)的(de)(de)過程中,1和(he)(he)x2逐漸增(zeng)大;當壓(ya)(ya)力(li)從(cong)0.5MPa增(zeng)加(jia)至1.2MPa時(shi),1和(he)(he)入2均呈減小的(de)(de)趨(qu)勢(shi)。基于埋(mai)設熱電(dian)偶的(de)(de)測(ce)溫結果(guo)和(he)(he)式(2-195)可得,2nd和(he)(he)4h測(ce)溫位(wei)置處(chu)局部凝(ning)(ning)固時(shi)間(jian)(jian)(jian)(jian)隨壓(ya)(ya)力(li)的(de)(de)增(zeng)加(jia)而縮短(duan),如(ru)圖(tu)(tu)2-113(a)所(suo)示(shi),從(cong)而導致(zhi)x2的(de)(de)減小。對比可知,枝(zhi)晶(jing)(jing)(jing)間(jian)(jian)(jian)(jian)距(ju)(λ和(he)(he)ん)和(he)(he)局部凝(ning)(ning)固時(shi)間(jian)(jian)(jian)(jian)沿徑向(xiang)和(he)(he)隨壓(ya)(ya)力(li)變(bian)化趨(qu)勢(shi)的(de)(de)實(shi)驗與模擬結果(guo)一致(zhi)。


綜上(shang)所述(shu),增加(jia)壓力能夠(gou)明顯減小枝(zhi)晶(jing)間(jian)距(ju)(x1和(he)x2),縮短局部凝固(gu)時(shi)間(jian),細化凝固(gu)組織(zhi)。鑄錠邊部和(he)心部試(shi)樣的枝(zhi)晶(jing)形貌如圖2-114所示,進(jin)一步佐(zuo)證了增加(jia)壓力具(ju)有明顯細化枝(zhi)晶(jing)組織(zhi)的作(zuo)用,且對(dui)柱狀晶(jing)的影響大于中心等軸(zhou)晶(jing)。

3. 晶(jing)粒(li)數
鑄錠(ding)內晶(jing)粒數(shu)與晶(jing)粒臨界形(xing)核(he)半(ban)徑和形(xing)核(he)率有直接的關系,晶(jing)粒臨界形(xing)核(he)半(ban)徑為:

其中(zhong)(zhong),Nm為(wei)與液相線溫度、凝(ning)(ning)固(gu)潛熱、擴散激活能以及表面張力(li)有(you)關的(de)系數(shu)(shu)。圖(tu)2-114給出(chu)了 19Cr14Mn0.9N 含氮(dan)鋼鑄錠等軸(zhou)晶(jing)區內晶(jing)粒數(shu)(shu)隨壓力(li)的(de)變化規律。壓力(li)從(cong)0.5MPa增加(jia)(jia)到(dao)1.2MPa時(shi),中(zhong)(zhong)心等軸(zhou)晶(jing)區的(de)寬度逐漸減(jian)小,最(zui)小值為(wei)56mm.19Cr14Mn0.9N含氮(dan)鋼鑄錠180mm(高(gao))x56mm(寬)等軸(zhou)晶(jing)區內晶(jing)粒數(shu)(shu)隨壓力(li)的(de)變化規律如圖(tu)2-115所示。當凝(ning)(ning)固(gu)壓力(li)從(cong)0.5MPa增加(jia)(jia)到(dao)0.85MPa時(shi),晶(jing)粒數(shu)(shu)目從(cong)9166增加(jia)(jia)到(dao)9551;當凝(ning)(ning)固(gu)壓力(li)進(jin)一步增加(jia)(jia)到(dao)1.2MPa時(shi),晶(jing)粒數(shu)(shu)目增加(jia)(jia)到(dao)10128.因此(ci),提高(gao)凝(ning)(ning)固(gu)壓力(li),鑄錠等軸(zhou)晶(jing)區內晶(jing)粒數(shu)(shu)明顯增大。

在低壓下,如(ru)壓力(li)(li)(li)從(cong)0.5MPa增(zeng)至1.2MPa時(shi),液相線溫(wen)度(du)(du)(du)、凝(ning)固潛(qian)熱(re)、擴散(san)激(ji)活能以及表面張力(li)(li)(li)的變量非常小(xiao),幾乎可以忽(hu)略,這樣可以假(jia)設Nm在0.5MPa、晶粒(li)數0.85MPa和1.2MPa下相等,近似(si)為常數。提高(gao)壓力(li)(li)(li)能夠明顯地增(zeng)大(da)鑄(zhu)(zhu)錠(ding)(ding)的溫(wen)度(du)(du)(du)梯度(du)(du)(du)(圖2-111),溫(wen)度(du)(du)(du)梯度(du)(du)(du)越大(da),單位時(shi)間內從(cong)糊(hu)狀(zhuang)區內導出(chu)結晶潛(qian)熱(re)的量越大(da),進而提高(gao)了糊(hu)狀(zhuang)區內過冷(leng)(leng)度(du)(du)(du);反(fan)之亦(yi)然,這意味(wei)著糊(hu)狀(zhuang)區過冷(leng)(leng)度(du)(du)(du)與溫(wen)度(du)(du)(du)梯度(du)(du)(du)隨壓力(li)(li)(li)的變化趨勢相同,即隨著壓力(li)(li)(li)的提高(gao)而增(zeng)大(da)。結合式(shi)(2-193)和式(shi)(2-197)可知(zhi),隨著糊(hu)狀(zhuang)區內過冷(leng)(leng)度(du)(du)(du)ΔT的增(zeng)加(jia)(jia),晶粒(li)臨(lin)界形核半徑(jing)rk減小(xiao),形核率Na增(zeng)大(da),有助于提高(gao)鑄(zhu)(zhu)錠(ding)(ding)內晶粒(li)數。因(yin)此(ci),增(zeng)加(jia)(jia)壓力(li)(li)(li)有利于增(zeng)加(jia)(jia)晶粒(li)數。
距離(li)19Cr14Mn0.9N含氮(dan)鋼鑄(zhu)(zhu)(zhu)(zhu)錠(ding)(ding)底部(bu)(bu)130mm的(de)(de)(de)高(gao)度處,晶(jing)(jing)粒(li)(li)(li)(li)數(shu)(shu)隨(sui)壓(ya)(ya)力(li)的(de)(de)(de)變化規(gui)律(lv)如圖2-116所示(shi)。在某一(yi)凝(ning)固壓(ya)(ya)力(li)下(xia),鑄(zhu)(zhu)(zhu)(zhu)錠(ding)(ding)邊(bian)部(bu)(bu)的(de)(de)(de)晶(jing)(jing)粒(li)(li)(li)(li)數(shu)(shu)目最大(da)(da),隨(sui)著離(li)鑄(zhu)(zhu)(zhu)(zhu)錠(ding)(ding)邊(bian)部(bu)(bu)距離(li)的(de)(de)(de)增加,由于糊(hu)狀(zhuang)區內(nei)過冷(leng)度的(de)(de)(de)減小(xiao),晶(jing)(jing)粒(li)(li)(li)(li)數(shu)(shu)也隨(sui)之減少(shao)。隨(sui)著壓(ya)(ya)力(li)提高(gao),晶(jing)(jing)粒(li)(li)(li)(li)數(shu)(shu)均呈增大(da)(da)趨勢,且(qie)柱狀(zhuang)晶(jing)(jing)區內(nei)軸向切(qie)片(pian)上晶(jing)(jing)粒(li)(li)(li)(li)數(shu)(shu)的(de)(de)(de)增量明顯(xian)大(da)(da)于中(zhong)心等軸晶(jing)(jing)區。因為在壓(ya)(ya)力(li)強化冷(leng)卻的(de)(de)(de)作用下(xia),整個鑄(zhu)(zhu)(zhu)(zhu)錠(ding)(ding)的(de)(de)(de)溫(wen)度梯(ti)度均有(you)增大(da)(da)趨勢,導(dao)致(zhi)糊(hu)狀(zhuang)區內(nei)過冷(leng)度的(de)(de)(de)增加。同時,由于距離(li)鑄(zhu)(zhu)(zhu)(zhu)錠(ding)(ding)和鑄(zhu)(zhu)(zhu)(zhu)型換(huan)熱界面(mian)越近(jin),溫(wen)度梯(ti)度受(shou)界面(mian)換(huan)熱的(de)(de)(de)影響(xiang)越大(da)(da),鑄(zhu)(zhu)(zhu)(zhu)錠(ding)(ding)邊(bian)部(bu)(bu)溫(wen)度梯(ti)度隨(sui)壓(ya)(ya)力(li)變化趨勢越明顯(xian),進而增加凝(ning)固壓(ya)(ya)力(li),鑄(zhu)(zhu)(zhu)(zhu)錠(ding)(ding)邊(bian)部(bu)(bu)溫(wen)度梯(ti)度的(de)(de)(de)增量明顯(xian)大(da)(da)于心部(bu)(bu),從而導(dao)致(zhi)離(li)鑄(zhu)(zhu)(zhu)(zhu)錠(ding)(ding)邊(bian)部(bu)(bu)較近(jin)的(de)(de)(de)柱狀(zhuang)晶(jing)(jing)區內(nei)晶(jing)(jing)粒(li)(li)(li)(li)數(shu)(shu)的(de)(de)(de)增量明顯(xian)大(da)(da)于中(zhong)心等軸晶(jing)(jing)區。

二、疏松(song)縮孔
鑄(zhu)(zhu)錠產(chan)生(sheng)疏(shu)松(song)(song)縮(suo)(suo)孔(kong)的(de)(de)(de)基本原因是鑄(zhu)(zhu)錠從澆注溫(wen)度(du)(du)冷(leng)卻至(zhi)固(gu)(gu)(gu)相(xiang)線溫(wen)度(du)(du)時(shi)(shi)產(chan)生(sheng)的(de)(de)(de)體(ti)收(shou)(shou)(shou)縮(suo)(suo)(液態收(shou)(shou)(shou)縮(suo)(suo)和凝(ning)(ning)固(gu)(gu)(gu)收(shou)(shou)(shou)縮(suo)(suo)之和)大于固(gu)(gu)(gu)態收(shou)(shou)(shou)縮(suo)(suo)。當鋼液從澆注溫(wen)度(du)(du)冷(leng)卻至(zhi)液相(xiang)線溫(wen)度(du)(du)時(shi)(shi)所產(chan)生(sheng)的(de)(de)(de)體(ti)收(shou)(shou)(shou)縮(suo)(suo)為(wei)液態收(shou)(shou)(shou)縮(suo)(suo),鋼液進(jin)一步從液相(xiang)線溫(wen)度(du)(du)冷(leng)卻至(zhi)固(gu)(gu)(gu)相(xiang)線溫(wen)度(du)(du)時(shi)(shi)(即發生(sheng)凝(ning)(ning)固(gu)(gu)(gu)相(xiang)變時(shi)(shi))所產(chan)生(sheng)的(de)(de)(de)體(ti)收(shou)(shou)(shou)縮(suo)(suo)為(wei)凝(ning)(ning)固(gu)(gu)(gu)收(shou)(shou)(shou)縮(suo)(suo)[87],固(gu)(gu)(gu)態收(shou)(shou)(shou)縮(suo)(suo)是指固(gu)(gu)(gu)相(xiang)在冷(leng)卻過程中所產(chan)生(sheng)的(de)(de)(de)體(ti)收(shou)(shou)(shou)縮(suo)(suo)。疏(shu)松(song)(song)縮(suo)(suo)孔(kong)的(de)(de)(de)出現嚴重(zhong)降低(di)了(le)鑄(zhu)(zhu)錠的(de)(de)(de)力學和耐腐蝕(shi)性能(neng)以及成(cheng)材率,是鑄(zhu)(zhu)錠的(de)(de)(de)嚴重(zhong)缺陷之一。
在凝(ning)固過程中鑄(zhu)錠內出現(xian)體(ti)積(ji)(ji)小而(er)(er)彌散的空洞為(wei)(wei)疏松,體(ti)積(ji)(ji)大(da)且集中的為(wei)(wei)縮(suo)(suo)(suo)(suo)孔。疏松由(you)在糊狀區內液(ye)(ye)(ye)相體(ti)積(ji)(ji)分(fen)數(shu)降到一定(ding)程度時,液(ye)(ye)(ye)相流(liu)(liu)動(dong)困(kun)難,液(ye)(ye)(ye)態(tai)收縮(suo)(suo)(suo)(suo)與凝(ning)固收縮(suo)(suo)(suo)(suo)之和超過固態(tai)收縮(suo)(suo)(suo)(suo)的那(nei)部分(fen)收縮(suo)(suo)(suo)(suo)量無法得到補縮(suo)(suo)(suo)(suo)所導致,因而(er)(er)疏松的形成與枝晶(jing)間液(ye)(ye)(ye)相的流(liu)(liu)動(dong)有(you)密切(qie)關聯[72,87].在糊狀區內,體(ti)收縮(suo)(suo)(suo)(suo)主(zhu)要(yao)由(you)凝(ning)固收縮(suo)(suo)(suo)(suo)組成,且為(wei)(wei)枝晶(jing)間液(ye)(ye)(ye)體(ti)流(liu)(liu)動(dong)的主(zhu)要(yao)驅動(dong)力,因而(er)(er)枝晶(jing)間液(ye)(ye)(ye)相的流(liu)(liu)速(su)u可表示為(wei)(wei)

式(shi)中,PΔx=Ps+Pf(其中,Pt為(wei)鋼液(ye)(ye)靜壓力(li),Pf=pgh;Ps為(wei)凝(ning)(ning)(ning)固(gu)壓力(li))。結合式(shi)(2-202)可知,增(zeng)加凝(ning)(ning)(ning)固(gu)壓力(li),Px增(zeng)大(da),強化了枝晶間液(ye)(ye)相的補縮(suo)能(neng)力(li),進而有助(zhu)于(yu)(yu)避免疏松的形成[91].此(ci)外,糊狀(zhuang)(zhuang)區(qu)越(yue)寬,枝晶網狀(zhuang)(zhuang)結構越(yue)復雜,枝晶間補縮(suo)的距離越(yue)長阻力(li)越(yue)大(da),滲透(tou)率K越(yue)小,疏松越(yue)容易(yi)形成。因此(ci),疏松易(yi)于(yu)(yu)在糊狀(zhuang)(zhuang)區(qu)較(jiao)寬的鑄(zhu)錠(ding)以體積凝(ning)(ning)(ning)固(gu)或同時凝(ning)(ning)(ning)固(gu)方式(shi)凝(ning)(ning)(ning)固(gu)時形成。相比之下,縮(suo)孔(kong)傾向于(yu)(yu)在糊狀(zhuang)(zhuang)區(qu)較(jiao)窄的鑄(zhu)錠(ding)以逐層凝(ning)(ning)(ning)固(gu)方式(shi)的凝(ning)(ning)(ning)固(gu)過程中出(chu)現。
不同(tong)凝(ning)固壓(ya)力(li)(li)下(0.5MPa、0.85MPa和(he)(he)1.2MPa),19Cr14Mn0.9N含氮鋼鑄錠縱剖(pou)面(mian)上疏松(song)縮(suo)(suo)(suo)孔的(de)分布情況如圖2-117所示。隨(sui)(sui)著凝(ning)固壓(ya)力(li)(li)的(de)增(zeng)(zeng)加,疏松(song)和(he)(he)縮(suo)(suo)(suo)孔的(de)總(zong)面(mian)積(ji)大幅度(du)減小,且疏松(song)逐(zhu)漸(jian)消失。由(you)于(yu)壓(ya)力(li)(li)具有顯著的(de)強化冷卻效果,增(zeng)(zeng)大凝(ning)固壓(ya)力(li)(li),強化了(le)(le)鑄錠和(he)(he)鑄型間(jian)的(de)界(jie)面(mian)換(huan)熱,加快了(le)(le)鑄錠的(de)冷卻速率(lv),從(cong)而(er)增(zeng)(zeng)大了(le)(le)鑄錠溫(wen)(wen)度(du)梯度(du)Gr;在合金體(ti)系一定的(de)情況下,糊狀區(qu)隨(sui)(sui)之確(que)定,那么糊狀區(qu)的(de)寬度(du)隨(sui)(sui)溫(wen)(wen)度(du)梯度(du)Gr的(de)增(zeng)(zeng)大而(er)減小171],進而(er)導致枝(zhi)晶(jing)網狀結構的(de)形成受到抑制。凝(ning)固方式逐(zhu)漸(jian)由(you)體(ti)積(ji)凝(ning)固向(xiang)逐(zhu)層凝(ning)固過渡(du),增(zeng)(zeng)大了(le)(le)滲透率(lv)K,從(cong)而(er)降低和(he)(he)縮(suo)(suo)(suo)短枝(zhi)晶(jing)間(jian)補(bu)縮(suo)(suo)(suo)時液(ye)相流動的(de)阻(zu)力(li)(li)和(he)(he)距(ju)離。此外(wai),基于(yu)以上理論分析并結合判據式(2-202)可知,增(zeng)(zeng)加凝(ning)固壓(ya)力(li)(li)等效于(yu)增(zeng)(zeng)大了(le)(le)Px,使其(qi)遠大于(yu)枝(zhi)晶(jing)間(jian)液(ye)相補(bu)縮(suo)(suo)(suo)時所需壓(ya)力(li)(li)。因此,加壓(ya)有利于(yu)枝(zhi)晶(jing)間(jian)液(ye)相的(de)補(bu)縮(suo)(suo)(suo)行為(wei),且有助于(yu)大幅度(du)減小或消除疏松(song)缺陷。

三、凝固析出相
根據相所含非金(jin)屬(shu)元素的(de)種類,可將凝固(gu)析出(chu)相分為(wei)氮化(hua)(hua)物、碳化(hua)(hua)物等,與碳化(hua)(hua)物相比,氮化(hua)(hua)物尺(chi)寸一般較小,為(wei)了更(geng)加(jia)清楚直(zhi)觀地論述增加(jia)壓力對凝固(gu)析出(chu)相的(de)影響,本節將著重以高速鋼(gang)M42中(zhong)碳化(hua)(hua)物為(wei)例,闡述壓力對凝固(gu)析出(chu)相的(de)類型(xing)、形貌、成分等影響規律。
高速鋼(gang)碳化(hua)(hua)(hua)物(wu)(wu)的(de)(de)(de)數量繁(fan)多(duo)、種類(lei)(lei)各(ge)異。不(bu)同(tong)碳化(hua)(hua)(hua)物(wu)(wu)的(de)(de)(de)特性不(bu)同(tong)、成(cheng)分不(bu)同(tong)、形貌(mao)也各(ge)有差異;按照碳化(hua)(hua)(hua)物(wu)(wu)的(de)(de)(de)形貌(mao)特征及生成(cheng)機制的(de)(de)(de)不(bu)同(tong),可將高速鋼(gang)中(zhong)碳化(hua)(hua)(hua)物(wu)(wu)分為一(yi)(yi)次(ci)(ci)碳化(hua)(hua)(hua)物(wu)(wu)和(he)二次(ci)(ci)碳化(hua)(hua)(hua)物(wu)(wu)兩(liang)大(da)部分。一(yi)(yi)次(ci)(ci)碳化(hua)(hua)(hua)物(wu)(wu)又稱為“初(chu)生碳化(hua)(hua)(hua)物(wu)(wu)”,即在凝(ning)(ning)固過(guo)程中(zhong)直接從(cong)液相(xiang)中(zhong)析(xi)出的(de)(de)(de)碳化(hua)(hua)(hua)物(wu)(wu),包(bao)括各(ge)種先共(gong)晶和(he)共(gong)晶碳化(hua)(hua)(hua)物(wu)(wu),有M6C、M2C、MC等不(bu)同(tong)類(lei)(lei)型(xing)。一(yi)(yi)次(ci)(ci)碳化(hua)(hua)(hua)物(wu)(wu)的(de)(de)(de)尺寸比(bi)較大(da),屬于微米級(ji)別,在后(hou)續熱(re)(re)(re)加工和(he)熱(re)(re)(re)處理工藝中(zhong)將被破碎或分解成(cheng)尺寸較小的(de)(de)(de)顆粒(li)狀存在于鋼(gang)中(zhong)。二次(ci)(ci)碳化(hua)(hua)(hua)物(wu)(wu)是(shi)指在凝(ning)(ning)固過(guo)程中(zhong)或熱(re)(re)(re)處理時從(cong)固相(xiang)基體(高溫鐵素體、奧(ao)氏體、馬氏體等)中(zhong)析(xi)出的(de)(de)(de)碳化(hua)(hua)(hua)物(wu)(wu),分為M6C、MC、M23C6、M7C3、M2C等不(bu)同(tong)類(lei)(lei)型(xing)。高速鋼(gang)中(zhong)碳化(hua)(hua)(hua)物(wu)(wu)成(cheng)分波(bo)動范(fan)圍較大(da),不(bu)同(tong)鋼(gang)種、不(bu)同(tong)條件(jian)產生的(de)(de)(de)同(tong)一(yi)(yi)類(lei)(lei)型(xing)的(de)(de)(de)碳化(hua)(hua)(hua)物(wu)(wu)也會有不(bu)同(tong)的(de)(de)(de)成(cheng)分,甚(shen)至同(tong)一(yi)(yi)粒(li)碳化(hua)(hua)(hua)物(wu)(wu)的(de)(de)(de)不(bu)同(tong)部位(wei),也會有成(cheng)分的(de)(de)(de)差異。各(ge)碳化(hua)(hua)(hua)物(wu)(wu)的(de)(de)(de)形貌(mao)、成(cheng)分及分布見表2-14.

M2C具有(you)密排(pai)六方晶體結構[172-175,179],其(qi)主要形(xing)(xing)成(cheng)元素(su)通常是鉬(mu)、釩(fan)和鎢,鉻及鐵的(de)(de)含量則較少。M2C 共晶碳化物一般(ban)以(yi)亞穩態(tai)存在(zai)于(yu)鋼(gang)中。尺寸較小(xiao)、片層(ceng)較薄且沒(mei)有(you)中間脊骨,在(zai)高(gao)溫時(shi)(shi)易發(fa)生分解反應:M2C+Fe(Y)→M6C+MC,分解成(cheng)尺寸較小(xiao)的(de)(de)顆粒(li)狀M6C和MC。此(ci)外,與M6C相反,鋼(gang)液凝固時(shi)(shi)的(de)(de)冷卻(que)速率越快,越有(you)利(li)于(yu)M2C的(de)(de)形(xing)(xing)成(cheng)。因此(ci),提(ti)高(gao)鑄錠(ding)凝固時(shi)(shi)的(de)(de)冷卻(que)速率有(you)利(li)于(yu)促進M2C的(de)(de)形(xing)(xing)成(cheng)并細(xi)化M2C,同時(shi)(shi)可抑制較大尺寸M6Cl。
M6C具有復雜立方晶體結構,其結構中除碳(tan)(tan)原子以外,鐵(tie)、鎢原子約各占一半。M6C屬于(yu)穩定型碳(tan)(tan)化物,其形(xing)態(tai)為(wei)粗大的(de)骨骼(ge)狀。鋼液凝固時(shi)冷(leng)卻速率越(yue)慢,M6C碳(tan)(tan)化物越(yue)易于(yu)形(xing)成和長(chang)大。因此,M6C在高速鋼的(de)心部(bu)(bu)往往含量較高,而邊部(bu)(bu)較少或(huo)沒有。加快鑄(zhu)錠(ding)(ding)凝固時(shi)的(de)冷(leng)卻速率有利(li)于(yu)細化M6C,提(ti)高鑄(zhu)錠(ding)(ding)性能。
MC具(ju)有(you)面心立方結(jie)(jie)構(gou)(gou)(gou),化(hua)(hua)學式為MC或者M4C3,其成(cheng)分以釩(fan)為主。鋼(gang)中(zhong)(zhong)(zhong)(zhong)碳(tan)、釩(fan)含(han)量(liang)的(de)增大可(ke)使MC增多(duo),尺寸變大。高(gao)(gao)速鋼(gang)中(zhong)(zhong)(zhong)(zhong)還(huan)有(you)M23C6、M3C、M7C3等碳(tan)化(hua)(hua)物(wu)(wu)。M23C6晶(jing)體結(jie)(jie)構(gou)(gou)(gou)為復雜(za)面心立方結(jie)(jie)構(gou)(gou)(gou),具(ju)有(you)一(yi)定(ding)(ding)量(liang)的(de)鎢、鉬,釩(fan)含(han)量(liang)極少,含(han)有(you)大量(liang)的(de)鉻、鐵元素;與M2C相同(tong),M3C也是亞穩態相。M7C3為復雜(za)六方晶(jing)體結(jie)(jie)構(gou)(gou)(gou),含(han)有(you)較多(duo)的(de)鉻、鐵,主要存在于碳(tan)含(han)量(liang)較高(gao)(gao)的(de)鋼(gang)中(zhong)(zhong)(zhong)(zhong)。高(gao)(gao)速鋼(gang)中(zhong)(zhong)(zhong)(zhong)碳(tan)化(hua)(hua)物(wu)(wu)具(ju)有(you)兩個重要的(de)特性(xing)(xing):硬(ying)度和(he)熱(re)穩定(ding)(ding)性(xing)(xing)(加熱(re)時溶解(jie)、聚集(ji)長大的(de)難(nan)度)。這(zhe)些特性(xing)(xing)反映了碳(tan)化(hua)(hua)物(wu)(wu)中(zhong)(zhong)(zhong)(zhong)碳(tan)和(he)金(jin)(jin)屬原子(zi)(zi)(zi)結(jie)(jie)合鍵的(de)強弱(ruo),與原子(zi)(zi)(zi)結(jie)(jie)構(gou)(gou)(gou)和(he)尺寸有(you)關。碳(tan)化(hua)(hua)物(wu)(wu)的(de)晶(jing)格結(jie)(jie)構(gou)(gou)(gou)與碳(tan)原子(zi)(zi)(zi)半徑rc、金(jin)(jin)屬原子(zi)(zi)(zi)半徑rx有(you)關,如(ru)表(biao)2-15所示(shi),rd/rx值越(yue)大,則(ze)(ze)越(yue)易形(xing)成(cheng)結(jie)(jie)構(gou)(gou)(gou)復雜(za)的(de)碳(tan)化(hua)(hua)物(wu)(wu)(M23C6、M3C等),越(yue)小則(ze)(ze)易形(xing)成(cheng)結(jie)(jie)構(gou)(gou)(gou)簡(jian)單(dan)密堆型碳(tan)化(hua)(hua)物(wu)(wu)(MC等)。表(biao)中(zhong)(zhong)(zhong)(zhong)熔點可(ke)作為碳(tan)化(hua)(hua)物(wu)(wu)熱(re)穩定(ding)(ding)性(xing)(xing)的(de)衡量(liang)指標,可(ke)見碳(tan)化(hua)(hua)物(wu)(wu)中(zhong)(zhong)(zhong)(zhong)原子(zi)(zi)(zi)尺寸越(yue)接(jie)近,則(ze)(ze)碳(tan)化(hua)(hua)物(wu)(wu)穩定(ding)(ding)性(xing)(xing)越(yue)高(gao)(gao)。

1. 壓力對萊氏體(ti)的影(ying)響
凝固末期,由于偏析導致合金元素在枝晶間(jian)(jian)殘余液相(xiang)內富集發生共晶反應,從(cong)液相(xiang)中直接生成(cheng)碳化物,它與奧氏(shi)體(ti)(ti)相(xiang)間(jian)(jian)排列,構成(cheng)萊(lai)氏(shi)體(ti)(ti)組(zu)(zu)織(zhi)。因此高(gao)速鋼的(de)(de)萊(lai)氏(shi)體(ti)(ti)組(zu)(zu)織(zhi)往(wang)往(wang)存在于枝晶間(jian)(jian)。圖2-118為(wei)M2高(gao)速鋼的(de)(de)低(di)倍鑄態組(zu)(zu)織(zhi),可見一般情況下,相(xiang)鄰晶粒(li)之(zhi)間(jian)(jian)的(de)(de)萊(lai)氏(shi)體(ti)(ti)組(zu)(zu)織(zhi)較為(wei)細小,數量(liang)較少,而(er)多個晶粒(li)之(zhi)間(jian)(jian)的(de)(de)萊(lai)氏(shi)體(ti)(ti)組(zu)(zu)織(zhi)尺寸較大,數量(liang)較多。

高速鋼(gang)的萊(lai)氏體組(zu)織中含有多種類型的碳化物(wu),如(ru)M2C、M6C、MC等。M6C整體形貌類似魚(yu)骨,故又稱為“魚(yu)骨狀(zhuang)碳化物(wu)”,如(ru)圖(tu)2-119所示;M2C成片層狀(zhuang),含有M2C的共晶萊(lai)氏體具(ju)有“羽毛狀(zhuang)”、“扇狀(zhuang)”、“菊花狀(zhuang)”等形貌,如(ru)圖(tu)2-120所示;MC的生長(chang)時(shi)間較長(chang),最終(zhong)尺寸較為粗大,往往以不規則的條(tiao)狀(zhuang)出現,如(ru)圖(tu)2-120所示。

a. 碳化物種類及分布
高(gao)(gao)速(su)鋼(gang)中(zhong)碳(tan)(tan)化(hua)(hua)(hua)(hua)物(wu)(wu)種(zhong)類與(yu)成(cheng)(cheng)分和(he)(he)(he)凝(ning)固(gu)(gu)過程中(zhong)的(de)(de)(de)(de)冷卻(que)速(su)率(lv)密不(bu)可(ke)分。M42 高(gao)(gao)速(su)工具鋼(gang)作為(wei)高(gao)(gao)鉬低鎢鋼(gang),其(qi)凝(ning)固(gu)(gu)組織碳(tan)(tan)化(hua)(hua)(hua)(hua)物(wu)(wu)主(zhu)要為(wei)M2C共(gong)晶(jing)碳(tan)(tan)化(hua)(hua)(hua)(hua)物(wu)(wu);另外含有(you)(you)(you)少部(bu)分M6C共(gong)晶(jing)碳(tan)(tan)化(hua)(hua)(hua)(hua)物(wu)(wu),主(zhu)要存在(zai)(zai)(zai)于(yu)(yu)鑄錠(ding)(ding)的(de)(de)(de)(de)心部(bu)區域。圖(tu)2-121~圖(tu)2-123給出(chu)了M42高(gao)(gao)速(su)鋼(gang)鑄錠(ding)(ding)在(zai)(zai)(zai)0.1MPa、1MPa和(he)(he)(he)2MPa下1/4圓(yuan)鑄錠(ding)(ding)板金相(xiang)組織。白色斑點狀處的(de)(de)(de)(de)萊(lai)氏(shi)體組織中(zhong)的(de)(de)(de)(de)碳(tan)(tan)化(hua)(hua)(hua)(hua)物(wu)(wu)為(wei)具有(you)(you)(you)中(zhong)心脊(ji)(ji)骨(gu)(gu),脊(ji)(ji)骨(gu)(gu)兩邊具有(you)(you)(you)平行分枝的(de)(de)(de)(de)魚骨(gu)(gu)狀M6C.M6C共(gong)晶(jing)碳(tan)(tan)化(hua)(hua)(hua)(hua)物(wu)(wu)的(de)(de)(de)(de)尺寸比(bi)M2C共(gong)晶(jing)碳(tan)(tan)化(hua)(hua)(hua)(hua)物(wu)(wu)粗大(da)得(de)多且結構上相(xiang)互連接緊密,極不(bu)利于(yu)(yu)鑄錠(ding)(ding)的(de)(de)(de)(de)后續碳(tan)(tan)化(hua)(hua)(hua)(hua)物(wu)(wu)破(po)碎,因(yin)此盡(jin)可(ke)能(neng)減(jian)少或(huo)避免凝(ning)固(gu)(gu)組織中(zhong)M6C共(gong)晶(jing)碳(tan)(tan)化(hua)(hua)(hua)(hua)物(wu)(wu)的(de)(de)(de)(de)產生(sheng),有(you)(you)(you)助于(yu)(yu)提升其(qi)力學性能(neng)等(deng)。隨著壓(ya)力的(de)(de)(de)(de)增(zeng)大(da),萊(lai)氏(shi)體(白色斑點)所占1/4圓(yuan)鑄錠(ding)(ding)板的(de)(de)(de)(de)面(mian)積比(bi)例逐漸減(jian)小(xiao),加壓(ya)有(you)(you)(you)助于(yu)(yu)抑(yi)制M6C共(gong)晶(jing)碳(tan)(tan)化(hua)(hua)(hua)(hua)物(wu)(wu)的(de)(de)(de)(de)形(xing)成(cheng)(cheng)與(yu)長(chang)大(da),其(qi)主(zhu)要原因(yin)在(zai)(zai)(zai)于(yu)(yu)在(zai)(zai)(zai)較低壓(ya)力下,加壓(ya)對凝(ning)固(gu)(gu)熱力學和(he)(he)(he)動力學參數的(de)(de)(de)(de)影(ying)(ying)響(xiang)十分有(you)(you)(you)限,但強化(hua)(hua)(hua)(hua)冷卻(que)效果十分明同(tong)時(shi)凝(ning)固(gu)(gu)過程中(zhong)冷卻(que)速(su)率(lv)越(yue)(yue)小(xiao),越(yue)(yue)有(you)(you)(you)利于(yu)(yu)魚骨(gu)(gu)狀M6C共(gong)晶(jing)碳(tan)(tan)化(hua)(hua)(hua)(hua)物(wu)(wu)的(de)(de)(de)(de)形(xing)成(cheng)(cheng),且M6C越(yue)(yue)粗大(da)。因(yin)而增(zeng)加壓(ya)力主(zhu)要通過增(zeng)大(da)鑄錠(ding)(ding)和(he)(he)(he)鑄型間界面(mian)換熱系(xi)數,提高(gao)(gao)鑄錠(ding)(ding)的(de)(de)(de)(de)冷卻(que)速(su)率(lv)從(cong)而細化(hua)(hua)(hua)(hua)并抑(yi)制M6C共(gong)晶(jing)碳(tan)(tan)化(hua)(hua)(hua)(hua)物(wu)(wu)的(de)(de)(de)(de)形(xing)成(cheng)(cheng),且當壓(ya)力增(zeng)加到一定程度時(shi),能(neng)夠完(wan)全抑(yi)制富含M6C的(de)(de)(de)(de)萊(lai)氏(shi)體形(xing)成(cheng)(cheng),消除其(qi)對組織和(he)(he)(he)性能(neng)的(de)(de)(de)(de)不(bu)良影(ying)(ying)響(xiang)。

圖(tu)2-121(b)所示萊(lai)氏(shi)體(ti)組織中碳(tan)化物為(wei)長(chang)條(tiao)狀或(huo)者短棒狀的(de)(de)(de)(de)M2C.凝固(gu)壓力(li)不同,M2C的(de)(de)(de)(de)尺(chi)寸、形(xing)貌以(yi)及分布(bu)的(de)(de)(de)(de)緊密(mi)程度等(deng)均有所不同。在(zai)(zai)0.1MPa壓力(li)下(xia),碳(tan)化物分枝較(jiao)少、片層(ceng)較(jiao)長(chang)、尺(chi)寸較(jiao)大、間距(ju)較(jiao)寬、共晶萊(lai)氏(shi)體(ti)與(yu)(yu)枝晶臂(bei)的(de)(de)(de)(de)界面較(jiao)平整(zheng);隨著(zhu)壓力(li)的(de)(de)(de)(de)增(zeng)加,條(tiao)狀或(huo)片層(ceng)狀碳(tan)化物的(de)(de)(de)(de)間距(ju)逐(zhu)漸(jian)減小(xiao),且開始(shi)斷(duan)開成大量(liang)的(de)(de)(de)(de)短棒碳(tan)化物,碳(tan)化物的(de)(de)(de)(de)分枝也(ye)逐(zhu)漸(jian)增(zeng)多,并密(mi)集分布(bu)在(zai)(zai)枝晶間,共晶萊(lai)氏(shi)體(ti)與(yu)(yu)枝晶臂(bei)的(de)(de)(de)(de)界面也(ye)較(jiao)為(wei)粗(cu)糙。此外,三個壓力(li)下(xia)的(de)(de)(de)(de)M2C幾乎沒有晶體(ti)缺陷,明壓力(li)很難對碳(tan)化物晶格類型產(chan)生影響。

b. 萊氏(shi)體(ti)尺寸
萊氏(shi)(shi)體(ti)組(zu)織(zhi)存在(zai)于枝(zhi)晶(jing)間(jian),與枝(zhi)晶(jing)間(jian)距、形(xing)貌及分(fen)布密切相關,枝(zhi)晶(jing)間(jian)距越小,枝(zhi)晶(jing)間(jian)萊氏(shi)(shi)體(ti)尺(chi)寸也(ye)相應地(di)細小且均(jun)勻分(fen)布。圖2-124和圖2-125給(gei)出了不(bu)同壓力(li)條件(jian)(jian)下(xia)M42鑄錠(ding)邊部(bu)(bu)(bu)(bu)和心部(bu)(bu)(bu)(bu)萊氏(shi)(shi)體(ti)形(xing)貌和尺(chi)寸分(fen)布,無論是鑄錠(ding)的(de)邊部(bu)(bu)(bu)(bu)還是心部(bu)(bu)(bu)(bu),尺(chi)寸不(bu)一的(de)萊氏(shi)(shi)體(ti)組(zu)織(zhi)(黑色(se))均(jun)分(fen)布在(zai)枝(zhi)晶(jing)間(jian)。在(zai)同一凝固(gu)壓力(li)條件(jian)(jian)下(xia),鑄錠(ding)邊部(bu)(bu)(bu)(bu)的(de)枝(zhi)晶(jing)間(jian)距明顯(xian)小于心部(bu)(bu)(bu)(bu),因(yin)而心部(bu)(bu)(bu)(bu)萊氏(shi)(shi)體(ti)要(yao)比邊部(bu)(bu)(bu)(bu)粗大。
隨著(zhu)壓(ya)力(li)的(de)(de)(de)增(zeng)(zeng)大(da)(da)(da),在(zai)壓(ya)力(li)強化(hua)冷卻的(de)(de)(de)作用(yong)下,冷卻速率(lv)增(zeng)(zeng)大(da)(da)(da),鑄錠(ding)局部(bu)(bu)凝固(gu)時間縮短,使得枝(zhi)(zhi)晶組(zu)(zu)織得到(dao)(dao)了明顯(xian)(xian)細(xi)(xi)(xi)化(hua)且(qie)尺(chi)(chi)(chi)寸(cun)(cun)分布(bu)更(geng)均(jun)(jun)(jun)(jun)勻,進(jin)(jin)而導致(zhi)分布(bu)在(zai)枝(zhi)(zhi)晶間的(de)(de)(de)萊(lai)(lai)氏(shi)(shi)(shi)(shi)體(ti)(ti)組(zu)(zu)織也隨之細(xi)(xi)(xi)化(hua),厚度(du)大(da)(da)(da)大(da)(da)(da)減小(xiao)且(qie)分布(bu)更(geng)加(jia)(jia)(jia)均(jun)(jun)(jun)(jun)勻。在(zai)0.1MPa 壓(ya)力(li)下,無論在(zai)邊部(bu)(bu)還是心(xin)部(bu)(bu)位(wei)置,鑄錠(ding)的(de)(de)(de)萊(lai)(lai)氏(shi)(shi)(shi)(shi)體(ti)(ti)組(zu)(zu)織均(jun)(jun)(jun)(jun)較為粗大(da)(da)(da),且(qie)尺(chi)(chi)(chi)寸(cun)(cun)分布(bu)極不均(jun)(jun)(jun)(jun)勻,部(bu)(bu)分局部(bu)(bu)區域存在(zai)著(zhu)大(da)(da)(da)量(liang)的(de)(de)(de)黑(hei)色萊(lai)(lai)氏(shi)(shi)(shi)(shi)體(ti)(ti),尤其在(zai)多個枝(zhi)(zhi)晶臂(bei)交匯處(chu),且(qie)尺(chi)(chi)(chi)寸(cun)(cun)異(yi)常粗大(da)(da)(da)。當(dang)壓(ya)力(li)增(zeng)(zeng)加(jia)(jia)(jia)至(zhi)(zhi)1MPa時,粗大(da)(da)(da)萊(lai)(lai)氏(shi)(shi)(shi)(shi)體(ti)(ti)得到(dao)(dao)明顯(xian)(xian)細(xi)(xi)(xi)化(hua),且(qie)尺(chi)(chi)(chi)寸(cun)(cun)分布(bu)更(geng)加(jia)(jia)(jia)均(jun)(jun)(jun)(jun)勻;當(dang)壓(ya)力(li)進(jin)(jin)一步(bu)(bu)增(zeng)(zeng)加(jia)(jia)(jia)至(zhi)(zhi)2MPa時,萊(lai)(lai)氏(shi)(shi)(shi)(shi)體(ti)(ti)組(zu)(zu)織得到(dao)(dao)進(jin)(jin)一步(bu)(bu)地改善(shan),組(zu)(zu)織更(geng)加(jia)(jia)(jia)細(xi)(xi)(xi)密(mi),尺(chi)(chi)(chi)寸(cun)(cun)更(geng)加(jia)(jia)(jia)均(jun)(jun)(jun)(jun)勻,粗大(da)(da)(da)萊(lai)(lai)氏(shi)(shi)(shi)(shi)體(ti)(ti)組(zu)(zu)織基本消失。萊(lai)(lai)氏(shi)(shi)(shi)(shi)體(ti)(ti)平(ping)均(jun)(jun)(jun)(jun)尺(chi)(chi)(chi)寸(cun)(cun)隨壓(ya)力(li)的(de)(de)(de)變化(hua)規(gui)律(lv)如圖2-126所示(shi),壓(ya)力(li)從0.1MPa增(zeng)(zeng)加(jia)(jia)(jia)至(zhi)(zhi)2MPa時,萊(lai)(lai)氏(shi)(shi)(shi)(shi)體(ti)(ti)厚度(du)由(you)28.37μm降低至(zhi)(zhi)22.92μm.因此,增(zeng)(zeng)加(jia)(jia)(jia)壓(ya)力(li)能(neng)夠明顯(xian)(xian)細(xi)(xi)(xi)化(hua)萊(lai)(lai)氏(shi)(shi)(shi)(shi)體(ti)(ti)組(zu)(zu)織,改善(shan)其分布(bu)狀態。

2. 壓力(li)對碳化(hua)物的影響
a. 碳化物尺寸
以高速鋼中(zhong)(zhong)(zhong)M2C共晶碳(tan)化(hua)物為例,M2C共晶碳(tan)化(hua)物是通過(guo)凝固(gu)過(guo)程(cheng)中(zhong)(zhong)(zhong)的(de)(de)(de)(de)(de)共晶反應(ying)L→y+M2C產(chan)生的(de)(de)(de)(de)(de)。和(he)(he)純金屬及固(gu)溶體合金的(de)(de)(de)(de)(de)結(jie)晶過(guo)程(cheng)一(yi)樣(yang),共晶轉變同樣(yang)需(xu)要經過(guo)形核與長大(da)的(de)(de)(de)(de)(de)過(guo)程(cheng)。結(jie)合式(2-178)和(he)(he)式(2-179),東北大(da)學特殊鋼冶金研究(jiu)所在(zai)(zai)控制溫(wen)度不(bu)變的(de)(de)(de)(de)(de)基礎上(shang),計(ji)算了不(bu)同壓(ya)(ya)(ya)力(li)(li)(li)下各(ge)元(yuan)(yuan)素(su)在(zai)(zai)兩相(xiang)(xiang)(xiang)中(zhong)(zhong)(zhong)的(de)(de)(de)(de)(de)擴(kuo)(kuo)(kuo)散(san)(san)系(xi)(xi)數,探討凝固(gu)壓(ya)(ya)(ya)力(li)(li)(li)與擴(kuo)(kuo)(kuo)散(san)(san)激活(huo)(huo)能的(de)(de)(de)(de)(de)關系(xi)(xi)。凝固(gu)過(guo)程(cheng)中(zhong)(zhong)(zhong)溫(wen)度T=1478K時(shi)(shi),合金元(yuan)(yuan)素(su)(鉬(mu)、鎢(wu)、釩和(he)(he)鉻(ge))在(zai)(zai)M2C相(xiang)(xiang)(xiang)和(he)(he)奧氏(shi)體相(xiang)(xiang)(xiang)γ中(zhong)(zhong)(zhong)的(de)(de)(de)(de)(de)擴(kuo)(kuo)(kuo)散(san)(san)系(xi)(xi)數D隨壓(ya)(ya)(ya)力(li)(li)(li)的(de)(de)(de)(de)(de)變化(hua)規律(lv)如(ru)圖(tu)2-127和(he)(he)圖(tu)2-128所示(shi);從整體上(shang)看,隨著壓(ya)(ya)(ya)力(li)(li)(li)的(de)(de)(de)(de)(de)逐(zhu)漸增大(da),同溫(wen)度M2C相(xiang)(xiang)(xiang)中(zhong)(zhong)(zhong)的(de)(de)(de)(de)(de)合金元(yuan)(yuan)素(su)鉬(mu)和(he)(he)鎢(wu)的(de)(de)(de)(de)(de)擴(kuo)(kuo)(kuo)散(san)(san)系(xi)(xi)數D呈減小趨勢,而合金元(yuan)(yuan)素(su)釩和(he)(he)鉻(ge)則呈增大(da)的(de)(de)(de)(de)(de)趨勢,表明提高壓(ya)(ya)(ya)力(li)(li)(li)可增大(da)M2C中(zhong)(zhong)(zhong)鉬(mu)、鎢(wu)元(yuan)(yuan)素(su)的(de)(de)(de)(de)(de)擴(kuo)(kuo)(kuo)散(san)(san)激活(huo)(huo)能ΔGm,進而降低其擴(kuo)(kuo)(kuo)散(san)(san)能力(li)(li)(li);同時(shi)(shi)降低釩、鉻(ge)元(yuan)(yuan)素(su)的(de)(de)(de)(de)(de)擴(kuo)(kuo)(kuo)散(san)(san)激活(huo)(huo)能ΔGm,從而提高其擴(kuo)(kuo)(kuo)散(san)(san)能力(li)(li)(li)。然而,當(dang)壓(ya)(ya)(ya)力(li)(li)(li)在(zai)(zai)0.1~2MPa范(fan)圍(wei)內變化(hua)時(shi)(shi),各(ge)元(yuan)(yuan)素(su)擴(kuo)(kuo)(kuo)散(san)(san)系(xi)(xi)數的(de)(de)(de)(de)(de)變化(hua)微(wei)乎(hu)其微(wei),即(ji)保持恒定值。隨著凝固(gu)壓(ya)(ya)(ya)力(li)(li)(li)逐(zhu)漸增大(da)到(dao)50MPa,元(yuan)(yuan)素(su)鉬(mu)的(de)(de)(de)(de)(de)擴(kuo)(kuo)(kuo)散(san)(san)系(xi)(xi)數才(cai)開始產(chan)生較為明顯的(de)(de)(de)(de)(de)變化(hua),鎢(wu)、釩和(he)(he)鉻(ge)元(yuan)(yuan)素(su)的(de)(de)(de)(de)(de)擴(kuo)(kuo)(kuo)散(san)(san)系(xi)(xi)數甚(shen)至在(zai)(zai)100MPa壓(ya)(ya)(ya)力(li)(li)(li)下仍未產(chan)生變化(hua)。因此低壓(ya)(ya)(ya)下,元(yuan)(yuan)素(su)擴(kuo)(kuo)(kuo)散(san)(san)系(xi)(xi)數隨壓(ya)(ya)(ya)力(li)(li)(li)的(de)(de)(de)(de)(de)變化(hua)可忽略(lve)不(bu)計(ji)。


的增(zeng)(zeng)(zeng)大(da)(da)而降低(di),鉻(ge)元素(su)的擴(kuo)(kuo)散(san)(san)系(xi)(xi)數(shu)則(ze)隨(sui)著凝(ning)(ning)固(gu)(gu)壓(ya)(ya)(ya)(ya)力的增(zeng)(zeng)(zeng)大(da)(da)而增(zeng)(zeng)(zeng)加,如圖2-128所示。即增(zeng)(zeng)(zeng)大(da)(da)凝(ning)(ning)固(gu)(gu)壓(ya)(ya)(ya)(ya)力具(ju)有提(ti)高奧(ao)(ao)氏(shi)(shi)(shi)體γ相(xiang)(xiang)中(zhong)(zhong)合金元素(su)鉬(mu)、鎢(wu)和(he)釩的擴(kuo)(kuo)散(san)(san)激(ji)活能(neng)ΔGm,降低(di)其擴(kuo)(kuo)散(san)(san)能(neng)力以及減小(xiao)元素(su)鉻(ge)的擴(kuo)(kuo)散(san)(san)激(ji)活能(neng)ΔGm和(he)增(zeng)(zeng)(zeng)大(da)(da)其擴(kuo)(kuo)散(san)(san)能(neng)力的作(zuo)用(yong)。與(yu)M2C差別在(zai)于(yu),在(zai)奧(ao)(ao)氏(shi)(shi)(shi)體相(xiang)(xiang)γ中(zhong)(zhong),較(jiao)小(xiao)的凝(ning)(ning)固(gu)(gu)壓(ya)(ya)(ya)(ya)力便可發揮比較(jiao)明(ming)顯(xian)的作(zuo)用(yong),例如:當凝(ning)(ning)固(gu)(gu)壓(ya)(ya)(ya)(ya)力大(da)(da)于(yu)2MPa時,元素(su)鉻(ge)的擴(kuo)(kuo)散(san)(san)系(xi)(xi)數(shu)隨(sui)壓(ya)(ya)(ya)(ya)力的增(zeng)(zeng)(zeng)加而明(ming)顯(xian)增(zeng)(zeng)(zeng)大(da)(da);鉬(mu)和(he)釩元素(su)則(ze)在(zai)10MPa時開始隨(sui)壓(ya)(ya)(ya)(ya)力增(zeng)(zeng)(zeng)加而明(ming)顯(xian)減小(xiao)。可見,在(zai)相(xiang)(xiang)同溫(wen)度下,相(xiang)(xiang)比于(yu)M2C相(xiang)(xiang),合金元素(su)釩、鎢(wu)、鉬(mu)和(he)鉻(ge)在(zai)奧(ao)(ao)氏(shi)(shi)(shi)體γ相(xiang)(xiang)中(zhong)(zhong)的擴(kuo)(kuo)散(san)(san)情況受(shou)凝(ning)(ning)固(gu)(gu)壓(ya)(ya)(ya)(ya)力的影響更(geng)為明(ming)顯(xian)。但在(zai)0.1~2MPa的壓(ya)(ya)(ya)(ya)力范圍內(nei),合金元素(su)在(zai)奧(ao)(ao)氏(shi)(shi)(shi)體相(xiang)(xiang)γ中(zhong)(zhong)的擴(kuo)(kuo)散(san)(san)系(xi)(xi)數(shu)幾乎保持不(bu)變(㎡/s):DMo=1.13214x10-14、Dw=1.23805x10-14、Dv=1.39269x10-14、Dcr=1.18654x10-14,同時,各元素(su)擴(kuo)(kuo)散(san)(san)激(ji)活能(neng)ΔGm也未發生明(ming)顯(xian)變化。
綜上所(suo)述(shu),在低壓(ya)下(xia),影(ying)響M2C形(xing)核率的主要因素是隨(sui)凝固壓(ya)力(li)增大而顯著減小的形(xing)核功。增加凝固壓(ya)力(li)可顯著改善換熱條件強(qiang)化鑄(zhu)錠(ding)冷卻(que)、提高鑄(zhu)錠(ding)過冷度ΔT,進(jin)而降低共晶(jing)反應過程(cheng)中奧氏體相(xiang)γ和M2C相(xiang)的形(xing)核功ΔG*,最終增大M2C的形(xing)核率、減小M2C相(xiang)鄰碳化物的間距。
此外,增(zeng)加壓(ya)力使(shi)M2C形核率大大增(zeng)加,同時(shi)強化(hua)了(le)鑄錠冷卻(que),顯(xian)著降低了(le)局(ju)部凝固(gu)時(shi)間LST,導致加壓(ya)下鑄錠同位置的(de)凝固(gu)相(xiang)對較快,M2C共晶(jing)碳化(hua)物(wu)生長(chang)時(shi)間變短,導致M42凝固(gu)組織中M2C碳化(hua)物(wu)的(de)尺寸減(jian)小。這對于后(hou)續的(de)熱處理(li)碳化(hua)物(wu)的(de)溶解具有積極(ji)的(de)意義。
圖2-129為不同凝固(gu)(gu)壓力下M2C共晶(jing)碳化物(wu)在(zai)熱(re)(re)處理(li)過程(cheng)中的(de)(de)元素(su)(su)擴(kuo)散示意圖。隨著凝固(gu)(gu)壓力的(de)(de)增(zeng)大,碳化物(wu)由(you)長條狀轉變為短棒狀,在(zai)縱向(xiang)和橫向(xiang)上的(de)(de)尺(chi)寸均(jun)顯著減小(xiao)。因此,在(zai)熱(re)(re)處理(li)過程(cheng)中,碳化物(wu)中的(de)(de)元素(su)(su)由(you)內(nei)向(xiang)外擴(kuo)散的(de)(de)平均(jun)距離也相應隨著凝固(gu)(gu)壓力的(de)(de)增(zeng)大而顯著減小(xiao),熱(re)(re)處理(li)效果更加(jia)明顯,熱(re)(re)處理(li)后(hou)M42組織的(de)(de)成分(fen)更加(jia)均(jun)勻,進而有利于提高M42高速鋼的(de)(de)質量。

b. 碳化(hua)物成分
M2C的(de)(de)形成元(yuan)素(su)(su)主要包(bao)括鉬(mu)、鎢(wu)、釩(fan)和(he)(he)鉻(ge),其中(zhong)鉬(mu)元(yuan)素(su)(su)是強(qiang)M2C碳(tan)化(hua)(hua)物(wu)形成元(yuan)素(su)(su),也(ye)是M2C中(zhong)含(han)量最高的(de)(de)合(he)(he)金(jin)(jin)元(yuan)素(su)(su)。圖(tu)2-130給出了不同壓力下M2C中(zhong)合(he)(he)金(jin)(jin)元(yuan)素(su)(su)鉬(mu)、鎢(wu)、釩(fan)和(he)(he)鉻(ge)含(han)量,隨著壓力的(de)(de)增大(da),M2C上的(de)(de)合(he)(he)金(jin)(jin)元(yuan)素(su)(su)鉬(mu)、鎢(wu)、釩(fan)和(he)(he)鉻(ge)含(han)量均逐漸減(jian)小,而鐵(tie)元(yuan)素(su)(su)則逐漸增大(da);同時,M2C碳(tan)化(hua)(hua)物(wu)之間基(ji)體(ti)中(zhong)合(he)(he)金(jin)(jin)元(yuan)素(su)(su)含(han)量則呈(cheng)現相反(fan)的(de)(de)規律:鉬(mu)、鎢(wu)、釩(fan)和(he)(he)鉻(ge)元(yuan)素(su)(su)含(han)量逐漸增大(da),而鐵(tie)元(yuan)素(su)(su)減(jian)少(shao)。這表明,增大(da)的(de)(de)壓力使(shi)得合(he)(he)金(jin)(jin)元(yuan)素(su)(su)在M2C共(gong)晶碳(tan)化(hua)(hua)物(wu)中(zhong)的(de)(de)分布趨于均勻(yun),為后續的(de)(de)處(chu)理(li)、熱加工工藝中(zhong)碳(tan)化(hua)(hua)物(wu)的(de)(de)破碎、溶解提供(gong)良好(hao)的(de)(de)基(ji)礎。

在高速(su)鋼中(zhong)(zhong),M2C共晶碳化物(wu)是通過凝(ning)固過程中(zhong)(zhong)的(de)共晶反應L→M2C+y產(chan)生的(de),在這個過程中(zhong)(zhong)存在M2C碳化物(wu)相(xiang)和奧氏(shi)體γ相(xiang)之(zhi)間的(de)溶質再(zai)分配(pei)[172].在一定溫(wen)度下,平(ping)衡分配(pei)系數可表(biao)示為(wei)固相(xiang)和液(ye)相(xiang)中(zhong)(zhong)的(de)元素濃度之(zhi)比:

式中,Cs和(he)CL分(fen)別表示在(zai)凝固(gu)過程中,元素在(zai)固(gu)相和(he)液相中的平衡(heng)濃(nong)度。共晶反應(ying)L→M2C+y是(shi)在(zai)凝固(gu)末期發生的,圖2-131給出了不同壓(ya)力下的M42高速鋼凝固(gu)時(shi)共晶反應(ying)過程中M2C碳化物相和(he)奧氏體γ相中各元素的單相平衡(heng)分(fen)配系數。
式中(zhong),Cs和C1分(fen)別(bie)表(biao)示在凝(ning)固過程(cheng)中(zhong),元素在固相和液(ye)相中(zhong)的(de)平衡濃度。共(gong)(gong)晶反應L→M2C+y是在凝(ning)固末期發生的(de)[172,180,181],圖2-131給出了不同壓(ya)力下(xia)的(de)M42高速鋼凝(ning)固時(shi)共(gong)(gong)晶反應過程(cheng)中(zhong)M2C碳化(hua)物相和奧氏(shi)體y相中(zhong)各元素的(de)單相平衡分(fen)配(pei)系數。
隨壓(ya)力(li)的(de)(de)(de)(de)增(zeng)(zeng)加,共(gong)晶(jing)反(fan)應(ying)過(guo)程(cheng)(cheng)中(zhong)(zhong)(zhong)(zhong)(zhong)鉬元(yuan)素(su)(su)在M2C和(he)奧氏體(ti)γ相(xiang)中(zhong)(zhong)(zhong)(zhong)(zhong)的(de)(de)(de)(de)分(fen)配(pei)(pei)系數(shu)具有升高的(de)(de)(de)(de)趨勢并(bing)逐漸靠(kao)近1.基于熱(re)力(li)學分(fen)析,在M42鑄錠凝(ning)固時(shi)的(de)(de)(de)(de)共(gong)晶(jing)反(fan)應(ying)過(guo)程(cheng)(cheng)中(zhong)(zhong)(zhong)(zhong)(zhong),增(zeng)(zeng)大(da)壓(ya)力(li)可使(shi)鉬元(yuan)素(su)(su)在M2C碳化物相(xiang)和(he)奧氏體(ti)γ相(xiang)中(zhong)(zhong)(zhong)(zhong)(zhong)的(de)(de)(de)(de)含量(liang)(liang)增(zeng)(zeng)大(da)。凝(ning)固過(guo)程(cheng)(cheng)中(zhong)(zhong)(zhong)(zhong)(zhong)M2C碳化物相(xiang)和(he)奧氏體(ti)γ相(xiang)中(zhong)(zhong)(zhong)(zhong)(zhong)的(de)(de)(de)(de)鉬元(yuan)素(su)(su)平衡分(fen)配(pei)(pei)系數(shu)增(zeng)(zeng)量(liang)(liang)變化規律如圖2-132所示,在0.1MPa、1MPa和(he)2MPa時(shi),M2C碳化物相(xiang)中(zhong)(zhong)(zhong)(zhong)(zhong)的(de)(de)(de)(de)鉬元(yuan)素(su)(su)平衡分(fen)配(pei)(pei)系數(shu)增(zeng)(zeng)量(liang)(liang)始終大(da)于奧氏體(ti)γ相(xiang)中(zhong)(zhong)(zhong)(zhong)(zhong)的(de)(de)(de)(de)平衡分(fen)配(pei)(pei)系數(shu)增(zeng)(zeng)量(liang)(liang)。由此可知,共(gong)晶(jing)反(fan)應(ying)過(guo)程(cheng)(cheng)中(zhong)(zhong)(zhong)(zhong)(zhong),相(xiang)比于奧氏體(ti)γ相(xiang),鉬元(yuan)素(su)(su)更偏向于在M2C相(xiang)中(zhong)(zhong)(zhong)(zhong)(zhong)富集。

在(zai)(zai)0.1~2MPa壓(ya)力范圍(wei)內(nei),加(jia)壓(ya)對Mo元(yuan)素(su)(su)的(de)(de)(de)平(ping)衡(heng)分(fen)(fen)配(pei)系數(shu)影(ying)(ying)響(xiang)非常小,變(bian)化(hua)量為10-6~10-5,可(ke)忽略(lve)不計(ji),因(yin)而(er)在(zai)(zai)低壓(ya)范圍(wei)內(nei),增(zeng)加(jia)壓(ya)力不能通(tong)過改變(bian)元(yuan)素(su)(su)平(ping)衡(heng)分(fen)(fen)配(pei)系數(shu)而(er)影(ying)(ying)響(xiang)相(xiang)(xiang)成(cheng)分(fen)(fen)。除平(ping)衡(heng)分(fen)(fen)配(pei)系數(shu)以外,鑄錠(ding)凝(ning)固過程中溶(rong)質(zhi)的(de)(de)(de)分(fen)(fen)配(pei)情況與元(yuan)素(su)(su)的(de)(de)(de)傳(chuan)質(zhi)行(xing)(xing)為有關(guan)。在(zai)(zai)M42鑄錠(ding)凝(ning)固末期的(de)(de)(de)共晶(jing)反應L→M2C+y過程中存(cun)在(zai)(zai)M2C碳(tan)化(hua)物相(xiang)(xiang)和奧(ao)(ao)氏體(ti)γ相(xiang)(xiang)之間(jian)的(de)(de)(de)溶(rong)質(zhi)再分(fen)(fen)配(pei):液(ye)相(xiang)(xiang)中的(de)(de)(de)M2C形成(cheng)元(yuan)素(su)(su)(鉬、鎢、釩和鉻)通(tong)過凝(ning)固前沿(yan)固/液(ye)界面向M2C碳(tan)化(hua)物相(xiang)(xiang)富集(ji)(ji),同時奧(ao)(ao)氏體(ti)γ相(xiang)(xiang)形成(cheng)元(yuan)素(su)(su)(鈷、鐵)則(ze)向奧(ao)(ao)氏體(ti)相(xiang)(xiang)富集(ji)(ji),整個(ge)反應發(fa)生在(zai)(zai)凝(ning)固末期的(de)(de)(de)枝晶(jing)間(jian)小熔池內(nei),此時液(ye)相(xiang)(xiang)流(liu)動(dong)很弱,元(yuan)素(su)(su)對流(liu)傳(chuan)質(zhi)行(xing)(xing)為可(ke)忽略(lve),因(yin)而(er)溶(rong)質(zhi)的(de)(de)(de)分(fen)(fen)配(pei)主要與相(xiang)(xiang)中元(yuan)素(su)(su)的(de)(de)(de)擴散(san)傳(chuan)質(zhi)行(xing)(xing)為有關(guan)。
根據菲克第一定律公(gong)式(2-178)可知,擴(kuo)散系(xi)(xi)(xi)數D與溫度(du)T呈反比關系(xi)(xi)(xi)。圖2-133為2MPa下M2C形成元素的擴(kuo)散系(xi)(xi)(xi)數隨溫度(du)的變(bian)化關系(xi)(xi)(xi)。在凝(ning)固(gu)壓(ya)力(li)不變(bian)時,溫度(du)的降(jiang)低會顯著減(jian)小擴(kuo)散系(xi)(xi)(xi)數,在低壓(ya)范圍內,相對(dui)(dui)于凝(ning)固(gu)壓(ya)力(li)變(bian)化,溫度(du)變(bian)化對(dui)(dui)擴(kuo)散系(xi)(xi)(xi)數D具有更明顯的影響。
增大(da)壓(ya)力(li)具有顯著強(qiang)化冷卻和減少鑄錠(ding)局部凝(ning)固(gu)(gu)時間(jian)(jian)的(de)(de)作用(yong)。由此可知,對于0.1MPa、1MPa和2MPa壓(ya)力(li)下的(de)(de)鑄錠(ding)凝(ning)固(gu)(gu)過程,在相同的(de)(de)凝(ning)固(gu)(gu)時間(jian)(jian)內,在較高壓(ya)力(li)下凝(ning)固(gu)(gu)的(de)(de)鑄錠(ding)冷卻更(geng)快,溫度更(geng)低(di)(di),其元素擴(kuo)散系數則相對較低(di)(di),導(dao)致元素擴(kuo)散速率減小(xiao),使得M2C共晶碳(tan)(tan)化物(wu)中釩(fan)、鎢、鉻(ge)和鉬元素含量降低(di)(di),碳(tan)(tan)化物(wu)間(jian)(jian)基體的(de)(de)合(he)金元素含量升高,降低(di)(di)了M2C碳(tan)(tan)化物(wu)和奧氏體γ相之間(jian)(jian)的(de)(de)成(cheng)分差異性,提(ti)高了M42凝(ning)固(gu)(gu)組織(zhi)成(cheng)分的(de)(de)均勻性。

c. 碳化物形貌
M2C碳化(hua)(hua)物(wu)明顯(xian)具有各(ge)向(xiang)異性的生長(chang)方式,形貌(mao)具有小(xiao)(xiao)平(ping)(ping)面(mian)(mian)向(xiang)的特性。共晶(jing)(jing)組織的形貌(mao)與(yu)共晶(jing)(jing)過(guo)程中(zhong)液(ye)(ye)/固(gu)界面(mian)(mian)結構有密切聯(lian)系(xi),金屬(shu)相(xiang)(xiang)-金屬(shu)碳化(hua)(hua)物(wu)相(xiang)(xiang)共晶(jing)(jing)屬(shu)于(yu)小(xiao)(xiao)平(ping)(ping)面(mian)(mian)相(xiang)(xiang)-非(fei)小(xiao)(xiao)平(ping)(ping)面(mian)(mian)相(xiang)(xiang)共晶(jing)(jing)[146].M2C是通過(guo)凝(ning)固(gu)末(mo)期枝(zhi)(zhi)晶(jing)(jing)間熔(rong)池里的共晶(jing)(jing)反(fan)M2C共晶(jing)(jing)碳化(hua)(hua)物(wu)形成于(yu)凝(ning)固(gu)末(mo)期枝(zhi)(zhi)晶(jing)(jing)間殘余液(ye)(ye)相(xiang)(xiang)中(zhong),根據凝(ning)固(gu)原(yuan)理。枝(zhi)(zhi)晶(jing)(jing)間殘余液(ye)(ye)相(xiang)(xiang)中(zhong)元素含量明顯(xian)高于(yu)鑄錠標準含量。不同壓(ya)(ya)力下枝(zhi)(zhi)晶(jing)(jing)間液(ye)(ye)相(xiang)(xiang)中(zhong)各(ge)相(xiang)(xiang)出現(xian)的先(xian)后順序,如(ru)圖2-135所示,在不同壓(ya)(ya)力下,M2C均領先(xian)奧氏體(ti)相(xiang)(xiang)γ出現(xian)。這(zhe)表明,在共晶(jing)(jing)反(fan)應L→y+M2C過(guo)程中(zhong),M2C是領先(xian)相(xiang)(xiang)。

在(zai)共(gong)晶(jing)凝固(gu)過(guo)(guo)(guo)程(cheng)中(zhong)(zhong)(zhong),領先相(xiang)(xiang)(xiang)(xiang)(xiang)M2C的(de)(de)(de)快速(su)生(sheng)(sheng)(sheng)長(chang)(chang)方向率(lv)(lv)(lv)先進(jin)入共(gong)生(sheng)(sheng)(sheng)界面(mian)前方的(de)(de)(de)液(ye)(ye)體中(zhong)(zhong)(zhong),同(tong)時在(zai)其(qi)附(fu)近(jin)液(ye)(ye)層(ceng)中(zhong)(zhong)(zhong)排出奧氏(shi)體形(xing)(xing)成元(yuan)(yuan)(yuan)素(su);隨(sui)(sui)(sui)后奧氏(shi)體相(xiang)(xiang)(xiang)(xiang)(xiang)γ則依靠(kao)此液(ye)(ye)層(ceng)獲得生(sheng)(sheng)(sheng)長(chang)(chang)組元(yuan)(yuan)(yuan),跟(gen)隨(sui)(sui)(sui)著(zhu)M2C一(yi)起(qi)長(chang)(chang)大(da)(da)(da),同(tong)時也向液(ye)(ye)層(ceng)中(zhong)(zhong)(zhong)排出M2C形(xing)(xing)成元(yuan)(yuan)(yuan)素(su),如圖2-136所(suo)示(shi)。隨(sui)(sui)(sui)著(zhu)凝固(gu)壓力的(de)(de)(de)增(zeng)(zeng)(zeng)大(da)(da)(da),凝固(gu)速(su)率(lv)(lv)(lv)增(zeng)(zeng)(zeng)加(jia),M2C相(xiang)(xiang)(xiang)(xiang)(xiang)和奧氏(shi)體相(xiang)(xiang)(xiang)(xiang)(xiang)γ的(de)(de)(de)生(sheng)(sheng)(sheng)長(chang)(chang)速(su)率(lv)(lv)(lv)均(jun)加(jia)快。一(yi)方面(mian),M2C碳(tan)(tan)化物(wu)相(xiang)(xiang)(xiang)(xiang)(xiang)鄰間(jian)距隨(sui)(sui)(sui)壓力的(de)(de)(de)增(zeng)(zeng)(zeng)大(da)(da)(da)逐漸減(jian)小(xiao)(xiao),即奧氏(shi)體相(xiang)(xiang)(xiang)(xiang)(xiang)的(de)(de)(de)液(ye)(ye)/固(gu)界面(mian)變窄(zhai);另一(yi)方面(mian),加(jia)壓使(shi)得枝(zhi)晶(jing)間(jian)殘余液(ye)(ye)相(xiang)(xiang)(xiang)(xiang)(xiang)中(zhong)(zhong)(zhong)合金元(yuan)(yuan)(yuan)素(su)沒(mei)有足夠時間(jian)進(jin)行(xing)充分擴散;導致奧氏(shi)體相(xiang)(xiang)(xiang)(xiang)(xiang)的(de)(de)(de)液(ye)(ye)/固(gu)界面(mian)前沿合金元(yuan)(yuan)(yuan)素(su)濃度急劇(ju)增(zeng)(zeng)(zeng)大(da)(da)(da),成分過(guo)(guo)(guo)冷加(jia)劇(ju),奧氏(shi)體相(xiang)(xiang)(xiang)(xiang)(xiang)長(chang)(chang)大(da)(da)(da)速(su)率(lv)(lv)(lv)進(jin)一(yi)步增(zeng)(zeng)(zeng)大(da)(da)(da),使(shi)得M2C相(xiang)(xiang)(xiang)(xiang)(xiang)與(yu)奧氏(shi)體相(xiang)(xiang)(xiang)(xiang)(xiang)的(de)(de)(de)生(sheng)(sheng)(sheng)長(chang)(chang)速(su)率(lv)(lv)(lv)差(cha)逐漸縮小(xiao)(xiao)。此外,奧氏(shi)體相(xiang)(xiang)(xiang)(xiang)(xiang)作為(wei)非小(xiao)(xiao)平(ping)面(mian)相(xiang)(xiang)(xiang)(xiang)(xiang),其(qi)生(sheng)(sheng)(sheng)長(chang)(chang)所(suo)需過(guo)(guo)(guo)冷度遠小(xiao)(xiao)于(yu)小(xiao)(xiao)平(ping)面(mian)相(xiang)(xiang)(xiang)(xiang)(xiang)的(de)(de)(de)M2C碳(tan)(tan)化物(wu),使(shi)得在(zai)凝固(gu)速(su)率(lv)(lv)(lv)增(zeng)(zeng)(zeng)大(da)(da)(da)的(de)(de)(de)過(guo)(guo)(guo)程(cheng)中(zhong)(zhong)(zhong)奧氏(shi)體相(xiang)(xiang)(xiang)(xiang)(xiang)的(de)(de)(de)生(sheng)(sheng)(sheng)長(chang)(chang)速(su)率(lv)(lv)(lv)增(zeng)(zeng)(zeng)量大(da)(da)(da)于(yu)M2C碳(tan)(tan)化物(wu)相(xiang)(xiang)(xiang)(xiang)(xiang)的(de)(de)(de)生(sheng)(sheng)(sheng)長(chang)(chang)速(su)率(lv)(lv)(lv)增(zeng)(zeng)(zeng)量。因(yin)此,隨(sui)(sui)(sui)著(zhu)壓力的(de)(de)(de)增(zeng)(zeng)(zeng)大(da)(da)(da),枝(zhi)晶(jing)間(jian)共(gong)晶(jing)組織中(zhong)(zhong)(zhong)奧氏(shi)體相(xiang)(xiang)(xiang)(xiang)(xiang)γ的(de)(de)(de)含(han)(han)量相(xiang)(xiang)(xiang)(xiang)(xiang)對(dui)(dui)增(zeng)(zeng)(zeng)多,使(shi)得M2C碳(tan)(tan)化物(wu)的(de)(de)(de)生(sheng)(sheng)(sheng)長(chang)(chang)空間(jian)受到“排擠(ji)”,含(han)(han)量相(xiang)(xiang)(xiang)(xiang)(xiang)對(dui)(dui)減(jian)少(shao),最終M2C碳(tan)(tan)化物(wu)逐漸呈(cheng)現出被奧氏(shi)體相(xiang)(xiang)(xiang)(xiang)(xiang)γ“截斷”進(jin)而變短的(de)(de)(de)形(xing)(xing)貌,如圖2-134所(suo)示(shi)。

四、夾雜(za)物分(fen)布
夾(jia)雜物(wu)是(shi)影(ying)響鋼(gang)錠質量的(de)(de)一(yi)個重(zhong)要(yao)因素。鋼(gang)中夾(jia)雜物(wu)主要(yao)包括冶煉過(guo)(guo)程中進行脫氧(yang)處理(li)形成的(de)(de)脫氧(yang)產物(wu)、凝(ning)固過(guo)(guo)程元素溶解(jie)度下降(jiang)形成的(de)(de)氧(yang)化(hua)(hua)物(wu)、氮化(hua)(hua)物(wu)、硫化(hua)(hua)物(wu)等化(hua)(hua)合物(wu)以及爐渣和由(you)于(yu)沖刷而進入鋼(gang)液的(de)(de)耐火材(cai)料。
根(gen)據夾(jia)雜(za)(za)(za)(za)(za)(za)物(wu)(wu)(wu)(wu)(wu)的(de)來源(yuan),可以(yi)將(jiang)鋼(gang)(gang)中(zhong)的(de)夾(jia)雜(za)(za)(za)(za)(za)(za)物(wu)(wu)(wu)(wu)(wu)分(fen)為(wei)兩類:①外生(sheng)(sheng)夾(jia)雜(za)(za)(za)(za)(za)(za)物(wu)(wu)(wu)(wu)(wu)。外生(sheng)(sheng)夾(jia)雜(za)(za)(za)(za)(za)(za)物(wu)(wu)(wu)(wu)(wu)大(da)部分(fen)為(wei)復(fu)合氧(yang)化(hua)(hua)物(wu)(wu)(wu)(wu)(wu)夾(jia)雜(za)(za)(za)(za)(za)(za),主要是由(you)于鋼(gang)(gang)液接觸空氣生(sheng)(sheng)成(cheng)(cheng)(cheng)氧(yang)化(hua)(hua)物(wu)(wu)(wu)(wu)(wu)以(yi)及(ji)進入鋼(gang)(gang)液的(de)爐(lu)渣、耐火(huo)材(cai)料(liao)組成(cheng)(cheng)(cheng)。外生(sheng)(sheng)夾(jia)雜(za)(za)(za)(za)(za)(za)物(wu)(wu)(wu)(wu)(wu)外形(xing)不(bu)規則、尺(chi)寸大(da)、構成(cheng)(cheng)(cheng)復(fu)雜(za)(za)(za)(za)(za)(za),常(chang)常(chang)位于鋼(gang)(gang)的(de)表層,具有嚴重(zhong)的(de)危害性(xing)。②內生(sheng)(sheng)夾(jia)雜(za)(za)(za)(za)(za)(za)物(wu)(wu)(wu)(wu)(wu)。內生(sheng)(sheng)夾(jia)雜(za)(za)(za)(za)(za)(za)物(wu)(wu)(wu)(wu)(wu)是由(you)于脫氧(yang)、鋼(gang)(gang)水鈣處理(li)等物(wu)(wu)(wu)(wu)(wu)化(hua)(hua)反(fan)(fan)應而(er)形(xing)成(cheng)(cheng)(cheng)的(de)夾(jia)雜(za)(za)(za)(za)(za)(za)物(wu)(wu)(wu)(wu)(wu)。內生(sheng)(sheng)夾(jia)雜(za)(za)(za)(za)(za)(za)物(wu)(wu)(wu)(wu)(wu)在(zai)鋼(gang)(gang)液中(zhong)數(shu)量(liang)較多,分(fen)布均勻(yun),顆粒細小。由(you)于形(xing)成(cheng)(cheng)(cheng)時間不(bu)同,內生(sheng)(sheng)夾(jia)雜(za)(za)(za)(za)(za)(za)物(wu)(wu)(wu)(wu)(wu)可分(fen)為(wei):鋼(gang)(gang)液脫氧(yang)時期生(sheng)(sheng)成(cheng)(cheng)(cheng)的(de)氧(yang)化(hua)(hua)物(wu)(wu)(wu)(wu)(wu),也稱(cheng)為(wei)原(yuan)生(sheng)(sheng)夾(jia)雜(za)(za)(za)(za)(za)(za)物(wu)(wu)(wu)(wu)(wu)或一次夾(jia)雜(za)(za)(za)(za)(za)(za)物(wu)(wu)(wu)(wu)(wu);溫(wen)度降低造成(cheng)(cheng)(cheng)化(hua)(hua)學反(fan)(fan)應平衡的(de)移動(dong)進而(er)析(xi)出二次夾(jia)雜(za)(za)(za)(za)(za)(za)物(wu)(wu)(wu)(wu)(wu);由(you)于溶質(zhi)元素(su)偏(pian)析(xi)和溶解度變(bian)化(hua)(hua)而(er)析(xi)出的(de)三(san)次夾(jia)雜(za)(za)(za)(za)(za)(za)物(wu)(wu)(wu)(wu)(wu)甚至四次夾(jia)雜(za)(za)(za)(za)(za)(za)物(wu)(wu)(wu)(wu)(wu)。
夾(jia)雜(za)(za)物(wu)作為(wei)凝固組織的(de)(de)(de)(de)(de)(de)重要組成部分(fen)(fen)(fen),其(qi)特性(xing)至(zhi)關(guan)重要,對(dui)于進一(yi)步揭示加(jia)壓冶(ye)金的(de)(de)(de)(de)(de)(de)優勢(shi)十分(fen)(fen)(fen)關(guan)鍵(jian)。非(fei)金屬夾(jia)雜(za)(za)物(wu)的(de)(de)(de)(de)(de)(de)特性(xing)(數量、尺(chi)寸和(he)(he)(he)分(fen)(fen)(fen)布(bu)(bu)等(deng))對(dui)鋼(gang)的(de)(de)(de)(de)(de)(de)性(xing)能(neng)(力(li)學性(xing)能(neng)和(he)(he)(he)腐蝕等(deng))有重要影響(xiang)。同(tong)時,改(gai)(gai)善(shan)鋼(gang)中(zhong)夾(jia)雜(za)(za)物(wu)的(de)(de)(de)(de)(de)(de)分(fen)(fen)(fen)布(bu)(bu)情況(kuang)并盡可能(neng)徹底地去除非(fei)金屬夾(jia)雜(za)(za)物(wu)可以(yi)有效(xiao)地減(jian)少缺陷和(he)(he)(he)提高性(xing)能(neng)。為(wei)了改(gai)(gai)善(shan)夾(jia)雜(za)(za)物(wu)的(de)(de)(de)(de)(de)(de)分(fen)(fen)(fen)布(bu)(bu),施加(jia)在夾(jia)雜(za)(za)物(wu)上(shang)的(de)(de)(de)(de)(de)(de)力(li)包(bao)括重力(li)、浮力(li)、曳(ye)力(li),附加(jia)質量力(li)、升力(li)和(he)(he)(he)反(fan)彈力(li)等(deng)起著關(guan)鍵(jian)作用。這些(xie)力(li)主要是(shi)(shi)通(tong)過溫度(du)、流(liu)場(chang)、重力(li)場(chang)和(he)(he)(he)電磁場(chang)等(deng)物(wu)理場(chang)來(lai)確定(ding)。因此,可以(yi)通(tong)過采取一(yi)系列措(cuo)施優化物(wu)理場(chang)來(lai)改(gai)(gai)善(shan)夾(jia)雜(za)(za)物(wu)分(fen)(fen)(fen)布(bu)(bu)。例如,鋼(gang)包(bao)中(zhong)使用的(de)(de)(de)(de)(de)(de)氣體攪(jiao)拌、連鑄(zhu)(zhu)過程中(zhong)添加(jia)磁場(chang)。對(dui)于加(jia)壓冶(ye)金,壓力(li)是(shi)(shi)關(guan)鍵(jian)因素(su)。目前,已經證實(shi)加(jia)壓會在各個方面影響(xiang)凝固過程中(zhong)的(de)(de)(de)(de)(de)(de)物(wu)理場(chang),包(bao)括加(jia)壓通(tong)過加(jia)快鑄(zhu)(zhu)錠的(de)(de)(de)(de)(de)(de)冷卻速率和(he)(he)(he)加(jia)強鑄(zhu)(zhu)錠與鑄(zhu)(zhu)模(mo)之間的(de)(de)(de)(de)(de)(de)熱交換來(lai)改(gai)(gai)變溫度(du)場(chang),通(tong)過改(gai)(gai)變糊狀區域的(de)(de)(de)(de)(de)(de)大小和(he)(he)(he)枝晶(jing)結構(gou)影響(xiang)流(liu)場(chang)等(deng)。
因此,可以認為(wei)在凝固過(guo)程中壓力(li)具有(you)改變夾(jia)(jia)雜(za)物分(fen)布(bu)的(de)能(neng)力(li),并(bing)且壓力(li)對(dui)夾(jia)(jia)雜(za)物分(fen)布(bu)的(de)影(ying)響機(ji)制(zhi)非常復雜(za),然而,關(guan)于加(jia)壓對(dui)夾(jia)(jia)雜(za)物分(fen)布(bu)變化(hua)的(de)影(ying)響研究相對(dui)較少。這表明加(jia)壓對(dui)凝固組(zu)織的(de)影(ying)響機(ji)理尚未全(quan)面闡明。
1. 夾雜物分布分析模(mo)型
在實際凝固(gu)過(guo)(guo)程(cheng)中(zhong),夾(jia)(jia)雜物(wu)(wu)的(de)受力情況、運(yun)(yun)(yun)動軌跡(ji)很難通過(guo)(guo)實驗進行(xing)測量(liang)。數值模擬(ni)提供(gong)了一種可以深入(ru)了解某(mou)些無(wu)法(fa)通過(guo)(guo)實驗評(ping)估的(de)現(xian)象的(de)方法(fa)。這(zhe)些現(xian)象包括(kuo)夾(jia)(jia)雜物(wu)(wu)的(de)運(yun)(yun)(yun)動軌跡(ji),作用于夾(jia)(jia)雜物(wu)(wu)的(de)力和(he)夾(jia)(jia)雜物(wu)(wu)的(de)速度(du)等(deng)。根(gen)據(ju)電(dian)渣、連鑄和(he)鋼包精煉等(deng)過(guo)(guo)程(cheng)中(zhong)的(de)相(xiang)關(guan)研究(jiu),數值模擬(ni)是一種非常有效的(de)研究(jiu)夾(jia)(jia)雜物(wu)(wu)運(yun)(yun)(yun)動行(xing)為(wei)的(de)方法(fa)。
鋼液(ye)凝(ning)固過程涉及熱量(liang)(liang)(liang)傳(chuan)遞、質(zhi)量(liang)(liang)(liang)傳(chuan)輸(shu)、動量(liang)(liang)(liang)傳(chuan)輸(shu)、相(xiang)(xiang)轉(zhuan)變和晶(jing)粒形核(he)長大等(deng)一(yi)系列復(fu)雜的物(wu)(wu)理(li)化學現象,同(tong)時存在金(jin)屬固相(xiang)(xiang)、金(jin)屬液(ye)相(xiang)(xiang)、氣相(xiang)(xiang)和夾(jia)(jia)雜物(wu)(wu)相(xiang)(xiang)等(deng)多(duo)個相(xiang)(xiang)之間的相(xiang)(xiang)互作用,適合應用歐拉(la)多(duo)項流(liu)模(mo)(mo)型(xing)(xing)進行計算求(qiu)解。其(qi)中,根據對(dui)夾(jia)(jia)雜物(wu)(wu)運動行為處理(li)方式,夾(jia)(jia)雜物(wu)(wu)分(fen)布(bu)分(fen)析模(mo)(mo)型(xing)(xing)可以(yi)分(fen)為歐拉(la)-拉(la)格(ge)朗日(ri)模(mo)(mo)型(xing)(xing)和歐拉(la)-歐拉(la)模(mo)(mo)型(xing)(xing)。
a. 歐(ou)拉(la)-拉(la)格(ge)朗(lang)日模型歐(ou)拉(la)-
拉(la)格朗日離(li)(li)散相(xiang)(xiang)模(mo)型是(shi)(shi)在(zai)歐拉(la)模(mo)型的基(ji)礎上,將夾(jia)(jia)雜(za)(za)(za)物(wu)(wu)(wu)相(xiang)(xiang)處理(li)成離(li)(li)散相(xiang)(xiang),而(er)流體(ti)相(xiang)(xiang)處理(li)為(wei)連續相(xiang)(xiang)。根據球(qiu)型夾(jia)(jia)雜(za)(za)(za)物(wu)(wu)(wu)的受力(li)分析,基(ji)于牛頓第二定(ding)律,建立夾(jia)(jia)雜(za)(za)(za)物(wu)(wu)(wu)運(yun)動(dong)模(mo)型,并與鋼液凝固模(mo)型耦合,從而(er)模(mo)擬(ni)夾(jia)(jia)雜(za)(za)(za)物(wu)(wu)(wu)在(zai)凝固過程運(yun)動(dong)行為(wei)。該模(mo)型可以跟(gen)蹤每個夾(jia)(jia)雜(za)(za)(za)物(wu)(wu)(wu)顆粒并獲得其速(su)度、運(yun)動(dong)軌跡以及夾(jia)(jia)雜(za)(za)(za)物(wu)(wu)(wu)去除過程中(zhong)的動(dong)力(li)學(xue)行為(wei)。此(ci)外,該模(mo)型是(shi)(shi)基(ji)于離(li)(li)散相(xiang)(xiang)體(ti)積(ji)比例相(xiang)(xiang)對較低(di)的基(ji)本假設而(er)建立。
夾(jia)雜(za)物在(zai)(zai)鋼液中的運動(dong),主(zhu)要(yao)是(shi)各種力(li)(li)(li)(li)的共同作(zuo)用造成(cheng)的。夾(jia)雜(za)物在(zai)(zai)鋼液中受(shou)力(li)(li)(li)(li)情況如圖2-137所(suo)示。可以看出(chu),夾(jia)雜(za)物顆粒受(shou)到主(zhu)要(yao)作(zuo)用力(li)(li)(li)(li)分別為:由于顆粒自身性質引起的力(li)(li)(li)(li),如重力(li)(li)(li)(li)、浮(fu)力(li)(li)(li)(li)等;由于顆粒與流體之間存(cun)在(zai)(zai)相對運動(dong)而產生的力(li)(li)(li)(li),如升力(li)(li)(li)(li)(Saffman)、附加質量力(li)(li)(li)(li)、曳力(li)(li)(li)(li)和Magnus力(li)(li)(li)(li)等;細(xi)小夾(jia)雜(za)物在(zai)(zai)高溫條(tiao)件下受(shou)的布朗(Brown)力(li)(li)(li)(li)等。
(1)曳力。
在(zai)鋼液(ye)流場內黏(nian)(nian)性流體(ti)與(yu)顆粒之(zhi)間存在(zai)相(xiang)對(dui)運(yun)(yun)動,由(you)黏(nian)(nian)性流體(ti)施加的(de)(de)曳力使(shi)得夾(jia)雜(za)物顆粒趨向于跟隨流體(ti)運(yun)(yun)動。曳力是夾(jia)雜(za)物顆粒在(zai)凝固過(guo)程中的(de)(de)主要受力之(zhi)一。計算公式(shi)如下(xia):

(2)浮力和重力。
在豎直(zhi)方(fang)向(xiang)上,夾雜物顆粒(li)受到與相對運動無關的(de)力(li),包括重力(li)和浮力(li),其(qi)

(3)附(fu)加質量力(li)。
當鋼(gang)液與夾(jia)(jia)雜(za)物(wu)顆(ke)粒存在相對運(yun)動時(shi),夾(jia)(jia)雜(za)物(wu)顆(ke)粒會帶動其附近的部分鋼(gang)液做加(jia)速運(yun)動,此時(shi)推動夾(jia)(jia)雜(za)物(wu)顆(ke)粒運(yun)動的力大于其顆(ke)粒本身(shen)慣性(xing)力,這部分大于夾(jia)(jia)雜(za)物(wu)顆(ke)粒本身(shen)慣性(xing)力的力即為附加(jia)質(zhi)量(liang)力。其計算公(gong)式為

通(tong)過運用歐拉-拉格(ge)朗(lang)日模(mo)型對鋼液(ye)凝固過程進行模(mo)擬計算時,可以得出隨著溫度場和(he)流場的(de)變化,每個球形夾雜物(wu)顆粒在鋼液(ye)中的(de)運動軌跡和(he)分布。
b. 歐拉-歐拉模型(xing)
拉(la)(la)格朗日模(mo)(mo)(mo)型(xing)是(shi)研究夾(jia)(jia)雜(za)物(wu)(wu)顆粒在鋼液中運動行為(wei)(wei)主(zhu)要的方(fang)法,但在實際(ji)的應(ying)用中存在一些(xie)不足,例(li)如,拉(la)(la)格朗日模(mo)(mo)(mo)型(xing)是(shi)針對(dui)單(dan)一粒子進(jin)行計算,當(dang)同時追蹤多個粒子時,計算量過大,難以進(jin)行。相(xiang)(xiang)較于拉(la)(la)格朗日模(mo)(mo)(mo)型(xing),歐(ou)(ou)拉(la)(la)-歐(ou)(ou)拉(la)(la)模(mo)(mo)(mo)型(xing)中夾(jia)(jia)雜(za)物(wu)(wu)相(xiang)(xiang)的控(kong)制(zhi)方(fang)程與流體連(lian)續相(xiang)(xiang)的控(kong)制(zhi)方(fang)程相(xiang)(xiang)似,運算相(xiang)(xiang)對(dui)高效,能夠同時描述多種夾(jia)(jia)雜(za)物(wu)(wu)顆粒在凝(ning)固過程中的分布特(te)征。歐(ou)(ou)拉(la)(la)-歐(ou)(ou)拉(la)(la)模(mo)(mo)(mo)型(xing)與歐(ou)(ou)拉(la)(la)-拉(la)(la)格朗日模(mo)(mo)(mo)型(xing)相(xiang)(xiang)比,主(zhu)要差(cha)別是(shi)夾(jia)(jia)雜(za)物(wu)(wu)相(xiang)(xiang)的動量方(fang)程存在差(cha)別,歐(ou)(ou)拉(la)(la)-歐(ou)(ou)拉(la)(la)模(mo)(mo)(mo)型(xing)的夾(jia)(jia)雜(za)物(wu)(wu)動量方(fang)程表達式為(wei)(wei)

2. 模(mo)鑄過程中夾雜物(wu)的受力(li)分析
模鑄過(guo)程中,夾雜物所(suo)受(shou)作(zuo)用(yong)力(li)(li)包括熱浮力(li)(li)、重力(li)(li)、附加質量力(li)(li)、升力(li)(li)以及(ji)相間作(zuo)用(yong)力(li)(li)等(deng),具體受(shou)力(li)(li)情況如圖2-138所(suo)示。

流(liu)(liu)場(chang)對夾(jia)(jia)雜(za)(za)物(wu)(wu)(wu)的(de)(de)(de)分布有(you)關鍵影(ying)響,這直接歸因(yin)于作(zuo)用于夾(jia)(jia)雜(za)(za)物(wu)(wu)(wu)的(de)(de)(de)阻力(li)(li)(li)(li)。以0.1MPa下H13鑄錠凝(ning)固為(wei)(wei)例,鋼液(ye)、夾(jia)(jia)雜(za)(za)物(wu)(wu)(wu)和(he)等軸(zhou)晶的(de)(de)(de)流(liu)(liu)場(chang)和(he)速率均顯示在圖2-139中。隨著(zhu)凝(ning)固的(de)(de)(de)進(jin)行(xing),鋼液(ye)受(shou)熱浮力(li)(li)(li)(li)的(de)(de)(de)驅動逆時針運動,如圖2-139(a)所示。同時,隨著(zhu)重(zhong)力(li)(li)(li)(li)和(he)浮力(li)(li)(li)(li)合(he)力(li)(li)(li)(li)的(de)(de)(de)增加(jia),等軸(zhou)晶的(de)(de)(de)沉降(jiang)連(lian)續(xu)發生在柱狀晶(tip)的(de)(de)(de)尖端,如圖2-139(b)所示。如圖2-139(c)所示,夾(jia)(jia)雜(za)(za)物(wu)(wu)(wu)流(liu)(liu)場(chang)中出現逆時針運動,與鋼液(ye)相似。這種(zhong)運動行(xing)為(wei)(wei)主(zhu)要是由作(zuo)用在夾(jia)(jia)雜(za)(za)物(wu)(wu)(wu)上的(de)(de)(de)合(he)力(li)(li)(li)(li)引起的(de)(de)(de)。根據模擬結(jie)果,凝(ning)固過程中重(zhong)力(li)(li)(li)(li),浮力(li)(li)(li)(li)和(he)阻力(li)(li)(li)(li)在改(gai)變夾(jia)(jia)雜(za)(za)物(wu)(wu)(wu)的(de)(de)(de)運動行(xing)為(wei)(wei)中起著(zhu)關鍵作(zuo)用,因(yin)為(wei)(wei)它(ta)們比附加(jia)質量(liang)力(li)(li)(li)(li)和(he)升力(li)(li)(li)(li)大了三個數量(liang)級。重(zhong)力(li)(li)(li)(li)和(he)浮力(li)(li)(li)(li)的(de)(de)(de)方(fang)(fang)向均為(wei)(wei)垂(chui)直方(fang)(fang)向,因(yin)為(wei)(wei)夾(jia)(jia)雜(za)(za)物(wu)(wu)(wu)的(de)(de)(de)密度(du)低于液(ye)體的(de)(de)(de)密度(du),故其合(he)力(li)(li)(li)(li)Fbg的(de)(de)(de)方(fang)(fang)向垂(chui)直向上,如圖2-139(d)所示。

在(zai)整個凝固(gu)過(guo)程中,Fbg保持不變(bian),并(bing)使(shi)(shi)夾(jia)(jia)雜物(wu)(wu)上(shang)浮。相(xiang)比之(zhi)下(xia),曳(ye)力(li)(li)(li)(li)(li)Fdp是(shi)向(xiang)下(xia)的(de)力(li)(li)(li)(li)(li),具有驅動(dong)夾(jia)(jia)雜物(wu)(wu)向(xiang)下(xia)沉的(de)能力(li)(li)(li)(li)(li)。并(bing)且其(qi)變(bian)化是(shi)復(fu)雜的(de)。根據等式(2-204)可知,曳(ye)力(li)(li)(li)(li)(li)與(yu)鋼(gang)液和夾(jia)(jia)雜物(wu)(wu)之(zhi)間的(de)速度差密切相(xiang)關。在(zai)頂部(bu)(bu)和底部(bu)(bu),鋼(gang)液和夾(jia)(jia)雜物(wu)(wu)速度差很小(xiao),與(yu)Fbg相(xiang)比,Fdp可以忽略(lve)不計(ji)。在(zai)柱狀晶尖端附近(jin)的(de)曳(ye)力(li)(li)(li)(li)(li)Fdp大(da)于(yu)Fbg,是(shi)導致夾(jia)(jia)雜物(wu)(wu)下(xia)沉的(de)關鍵因素。在(zai)鑄錠(ding)的(de)中心,Fdp小(xiao)于(yu)Fbg,Fbg占(zhan)主(zhu)導,促(cu)使(shi)(shi)夾(jia)(jia)雜物(wu)(wu)上(shang)浮。因此(ci),模鑄過(guo)程中夾(jia)(jia)雜物(wu)(wu)形成逆(ni)時針運動(dong),這主(zhu)要是(shi)由重力(li)(li)(li)(li)(li)、浮力(li)(li)(li)(li)(li)和曳(ye)力(li)(li)(li)(li)(li)的(de)綜合作用所驅動(dong)。
3. 模鑄過程中壓力對夾雜(za)物分布的影(ying)響
利用歐拉-歐拉模型在(zai)(zai)(zai)0.1MPa、1MPa和(he)(he)2MPa下獲(huo)(huo)得了(le)H13鑄(zhu)錠(ding)夾(jia)(jia)(jia)(jia)(jia)(jia)雜(za)(za)(za)物體積分數的(de)(de)(de)等值線,如(ru)圖2-140所(suo)示(shi)。每個鑄(zhu)錠(ding)中(zhong)都(dou)存在(zai)(zai)(zai)三(san)個主(zhu)要的(de)(de)(de)夾(jia)(jia)(jia)(jia)(jia)(jia)雜(za)(za)(za)物富(fu)集(ji)區(qu)(qu)(qu)(I、和(he)(he)III),其中(zhong),II區(qu)(qu)(qu)夾(jia)(jia)(jia)(jia)(jia)(jia)雜(za)(za)(za)物的(de)(de)(de)富(fu)集(ji)度(du)(du)(du)最(zui)低(di),III區(qu)(qu)(qu)的(de)(de)(de)夾(jia)(jia)(jia)(jia)(jia)(jia)雜(za)(za)(za)物富(fu)集(ji)度(du)(du)(du)最(zui)高,I區(qu)(qu)(qu)次(ci)之。三(san)個夾(jia)(jia)(jia)(jia)(jia)(jia)雜(za)(za)(za)物富(fu)集(ji)區(qu)(qu)(qu)域主(zhu)要由夾(jia)(jia)(jia)(jia)(jia)(jia)雜(za)(za)(za)物逆時(shi)針運(yun)動(dong)(dong)以(yi)及被(bei)糊(hu)(hu)狀(zhuang)(zhuang)(zhuang)區(qu)(qu)(qu)捕(bu)(bu)集(ji)的(de)(de)(de)綜(zong)合作用所(suo)導致(zhi)。以(yi)0.1MPa 壓(ya)力下夾(jia)(jia)(jia)(jia)(jia)(jia)雜(za)(za)(za)物分布(bu)為例(li),遠離糊(hu)(hu)狀(zhuang)(zhuang)(zhuang)區(qu)(qu)(qu)的(de)(de)(de)夾(jia)(jia)(jia)(jia)(jia)(jia)雜(za)(za)(za)物在(zai)(zai)(zai)逆時(shi)針運(yun)動(dong)(dong)過程中(zhong)逐漸上浮(fu)并富(fu)集(ji)到鑄(zhu)錠(ding)頂(ding)(ding)部,如(ru)圖 2-140(c)所(suo)示(shi)。鑄(zhu)錠(ding)頂(ding)(ding)部富(fu)集(ji)的(de)(de)(de)夾(jia)(jia)(jia)(jia)(jia)(jia)雜(za)(za)(za)物一部分被(bei)糊(hu)(hu)狀(zhuang)(zhuang)(zhuang)區(qu)(qu)(qu)捕(bu)(bu)獲(huo)(huo),形(xing)成了(le)I區(qu)(qu)(qu),其余部分沿逆時(shi)針方(fang)向移動(dong)(dong),運(yun)動(dong)(dong)方(fang)向幾(ji)乎垂直于(yu)糊(hu)(hu)狀(zhuang)(zhuang)(zhuang)區(qu)(qu)(qu)法向量。與(yu)之相比,在(zai)(zai)(zai)II和(he)(he)III區(qu)(qu)(qu)域內,夾(jia)(jia)(jia)(jia)(jia)(jia)雜(za)(za)(za)物運(yun)動(dong)(dong)方(fang)向與(yu)糊(hu)(hu)狀(zhuang)(zhuang)(zhuang)區(qu)(qu)(qu)法向量成鈍角(jiao),因而夾(jia)(jia)(jia)(jia)(jia)(jia)雜(za)(za)(za)物更加趨向于(yu)被(bei)II和(he)(he)III區(qu)(qu)(qu)域內糊(hu)(hu)狀(zhuang)(zhuang)(zhuang)區(qu)(qu)(qu)所(suo)捕(bu)(bu)獲(huo)(huo),如(ru)圖2-141所(suo)示(shi),導致(zhi)夾(jia)(jia)(jia)(jia)(jia)(jia)雜(za)(za)(za)物富(fu)集(ji)區(qu)(qu)(qu)II和(he)(he)III的(de)(de)(de)形(xing)成。同時(shi),III區(qu)(qu)(qu)夾(jia)(jia)(jia)(jia)(jia)(jia)雜(za)(za)(za)物的(de)(de)(de)富(fu)集(ji)程度(du)(du)(du)最(zui)高,原因是糊(hu)(hu)狀(zhuang)(zhuang)(zhuang)區(qu)(qu)(qu)較寬,糊(hu)(hu)狀(zhuang)(zhuang)(zhuang)區(qu)(qu)(qu)夾(jia)(jia)(jia)(jia)(jia)(jia)雜(za)(za)(za)物捕(bu)(bu)獲(huo)(huo)能(neng)力越強,富(fu)集(ji)趨勢更明顯(xian)。

隨著壓(ya)(ya)力(li)從0.1MPa增加到2MPa,I、II和III區夾雜(za)物的(de)富集度降低,如(ru)2-140(b)所示(shi),夾雜(za)物體積(ji)分(fen)(fen)數的(de)最大增量(liang) 4max隨壓(ya)(ya)力(li)的(de)增加而減(jian)小,在0.1MPa、1MPa和2MPa下(xia)分(fen)(fen)別為(wei)4.1x10-5、3.5x10-5和1.8x10-5,表明隨著凝固壓(ya)(ya)力(li)增加至2MPa,鑄(zhu)錠中夾雜(za)物分(fen)(fen)布更加均勻。
糊(hu)狀(zhuang)區捕獲(huo)(huo)夾(jia)雜(za)物和(he)夾(jia)雜(za)物從(cong)(cong)糊(hu)狀(zhuang)區逃脫的(de)(de)能(neng)力(li)(li)對夾(jia)雜(za)物分布至(zhi)關重(zhong)要(yao)。結合液相線(xian)/固相線(xian)溫(wen)度(du)隨(sui)(sui)壓(ya)力(li)(li)的(de)(de)變(bian)化規律可知,凝(ning)(ning)(ning)(ning)(ning)固區間變(bian)化很小,當壓(ya)力(li)(li)從(cong)(cong)0.1MPa增(zeng)(zeng)加到2MPa時可以(yi)忽(hu)略不計。因(yin)此(ci),糊(hu)狀(zhuang)區寬(kuan)度(du)主(zhu)要(yao)由溫(wen)度(du)梯(ti)(ti)度(du)決定(ding)。如圖2-142(b)所示(shi),由于增(zeng)(zeng)加壓(ya)力(li)(li)后提高(gao)了冷(leng)卻(que)速(su)(su)率(lv)導(dao)致高(gao)壓(ya)下(xia)溫(wen)度(du)梯(ti)(ti)度(du)更(geng)大。在(zai)較(jiao)高(gao)壓(ya)力(li)(li)下(xia),糊(hu)狀(zhuang)區域的(de)(de)長度(du)變(bian)短[150].另外,以(yi)圖2-142(a)中的(de)(de)A點(dian)為(wei)例,凝(ning)(ning)(ning)(ning)(ning)固時間隨(sui)(sui)壓(ya)力(li)(li)的(de)(de)增(zeng)(zeng)加而(er)顯(xian)著減少,在(zai)0.1MPa、1MPa和(he)2MPa下(xia)分別為(wei)292s、272s和(he)247s,凝(ning)(ning)(ning)(ning)(ning)固速(su)(su)率(lv)隨(sui)(sui)壓(ya)力(li)(li)的(de)(de)增(zeng)(zeng)加而(er)增(zeng)(zeng)加。進而(er)表(biao)明,在(zai)較(jiao)高(gao)的(de)(de)凝(ning)(ning)(ning)(ning)(ning)固壓(ya)力(li)(li)下(xia)糊(hu)狀(zhuang)區的(de)(de)長度(du)較(jiao)小且凝(ning)(ning)(ning)(ning)(ning)固速(su)(su)率(lv)較(jiao)高(gao),因(yin)此(ci)糊(hu)狀(zhuang)區捕獲(huo)(huo)夾(jia)雜(za)物的(de)(de)能(neng)力(li)(li)變(bian)弱。

A、B和C點夾(jia)(jia)(jia)雜物速(su)度(du)隨(sui)(sui)(sui)液相(xiang)(xiang)體積(ji)分(fen)數(shu)的(de)變化如圖2-143所示。高溫(wen)度(du)梯度(du)通(tong)過增(zeng)大(da)(da)熱(re)浮力來強化鋼(gang)液對流。另外(wai),研究了糊狀(zhuang)(zhuang)區(qu)(qu)中夾(jia)(jia)(jia)雜物的(de)速(su)度(du)隨(sui)(sui)(sui)曳力改(gai)的(de)相(xiang)(xiang)應變化。凝(ning)固(gu)(gu)初(chu)(chu)期(qi),糊狀(zhuang)(zhuang)區(qu)(qu)中的(de)夾(jia)(jia)(jia)雜物運動(dong)速(su)度(du)隨(sui)(sui)(sui)著(zhu)(zhu)壓力的(de)增(zeng)加而(er)增(zeng)大(da)(da),在凝(ning)固(gu)(gu)后期(qi),糊狀(zhuang)(zhuang)區(qu)(qu)內(nei)夾(jia)(jia)(jia)雜物幾(ji)乎完全停止運動(dong)時液相(xiang)(xiang)體積(ji)分(fen)數(shu)隨(sui)(sui)(sui)著(zhu)(zhu)壓力的(de)增(zeng)加而(er)降低。以(yi)點A為例,凝(ning)固(gu)(gu)初(chu)(chu)期(qi)(f=0.98),在0.1MPa、1MPa和2MPa下(xia)夾(jia)(jia)(jia)雜物速(su)度(du)分(fen)別為1.06×10-3m/s、1.19×10-3m/s和1.52×10-3m/s.當糊狀(zhuang)(zhuang)區(qu)(qu)夾(jia)(jia)(jia)雜物的(de)速(su)度(du)降低到5x10-5m/s時,0.1MPa、1MPa和2MPa下(xia)的(de)液相(xiang)(xiang)體積(ji)分(fen)數(shu)分(fen)別為0.74、0.68和0.62.這意味著(zhu)(zhu)夾(jia)(jia)(jia)雜物從糊狀(zhuang)(zhuang)區(qu)(qu)逸出的(de)能力隨(sui)(sui)(sui)壓力增(zeng)加而(er)增(zeng)強。

綜上所述,增加壓力可以顯著抑制糊(hu)(hu)狀區(qu)中夾雜物(wu)的富集,并通(tong)過降低糊(hu)(hu)狀區(qu)捕(bu)獲夾雜物(wu)的能力,提高夾雜物(wu)從糊(hu)(hu)狀區(qu)中逸(yi)出的能力,使(shi)鑄錠內(nei)夾雜物(wu)分布更加均勻。

