氮 氮作為合金元素早期用于Cr-Mn-N和Cr-Mn-Ni-N奧氏體不銹鋼中,以節約鎳。除節鎳效果外,氮通過固溶強化可顯著提高奧氏體(ti)不銹鋼的強度,而不顯著損害其塑性和韌性,同時氮還可以提高鋼的耐均勻腐蝕、耐點蝕、耐縫隙腐(fu)蝕(shi)和耐晶間腐(fu)蝕的性能。
由于氮的良(liang)好作用(yong)(yong),用(yong)(yong)氮合金化的奧氏體不銹鋼不斷取得進(jin)展并獲得應(ying)用(yong)(yong)。目(mu)前(qian)應(ying)用(yong)(yong)的含(han)氮奧氏體不銹鋼可以分(fen)為三種類(lei)型(xing):
1. 控氮型
此類鋼是在超(chao)低碳(0.02%~0.03%)鉻(ge)鎳(nie)奧氏體不銹鋼中加入0.05%~0.12%N,用以(yi)提高鋼的強度,使其達到含穩定化(hua)元素鈦或(huo)普通低碳(≤0.08%)奧氏體不銹鋼的水平。
2. 中氮型(xing)
此(ci)(ci)類鋼(gang)(gang)含有0.12%~0.40%N,是在正常大氣壓力條件(jian)下冶(ye)煉和澆(jiao)鑄所得(de)到的(de)氮合金化奧氏體(ti)不銹鋼(gang)(gang)。此(ci)(ci)類鋼(gang)(gang)以耐腐蝕為主(zhu)要目的(de),同時具有較高的(de)強度。
3. 高(gao)氮型
此(ci)(ci)類(lei)鋼(gang)氮含(han)量在0.40%以上。此(ci)(ci)類(lei)鋼(gang)在加(jia)(jia)壓條件(jian)下(xia)冶(ye)(ye)煉和(he)澆鑄,或(huo)者調整鋼(gang)中的鉻、錳含(han)量在常規條件(jian)下(xia)冶(ye)(ye)煉和(he)澆鑄,將氮加(jia)(jia)入到(dao)足(zu)夠高(gao)的水(shui)平(ping)。此(ci)(ci)類(lei)鋼(gang)主要在固溶態(tai)或(huo)半冷加(jia)(jia)工狀態(tai)下(xia)使用,既具有高(gao)強度,又耐腐蝕。
氮形成奧氏體的能力與碳相當,約為鎳的30倍。氮在奧氏體不銹鋼中可代替部分鎳,可降低鋼中的鐵素體含量,并使奧氏體更穩定,甚至可避免出現馬氏體轉變。在鉻鎳奧氏體不銹鋼中,氮含量的增加可形成氮化物Cr2N(圖9.54)。

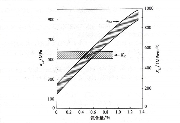
氮顯著提高奧氏體鋼的強度(圖4.19),每加入0.010%N,可提高鉻鎳奧氏體不銹鋼的室溫強度(σ0.2、σb)60~100MPa,其塑性仍保持足夠高的水平。圖9.67顯示氮含量對022Cr19Ni10鋼室溫力學性能的影響。在高氮奧氏體鋼中,氮亦可以提高其強度,氮含量為1.2%的低碳Cr-Ni-Mn-N奧氏體不銹鋼的屈服強度可達800~900MPa。曾對低碳的18Cr-18Mn-N奧氏體不銹鋼的力學性能進行過研究,經固溶處理后可獲得單一的奧氏體組織,圖9.68為氮含量對其室溫屈服強度和斷裂韌度的影響。研究結果表明,在氮固溶于奧氏體的情況下,其含量高至0.74%時,斷裂韌度不降低,而其屈服強度顯著提高。通過冷加工變形,可以進一步提高其屈服強度。在固溶氮含量為0.58%時,經過40%的冷變形,鋼的屈服強度可達1400~1500MPa,其斷裂韌度將由很高的500MPa·m1/2降至依然不錯的200MPa·m1/2。

在(zai)氮含(han)量(liang)小于(yu)0.67%時,鉻鎳奧氏體(ti)不銹鋼仍有低的韌脆轉變(bian)溫度(du),在(zai)-200℃的低溫下仍有足夠高(gao)的沖(chong)擊(ji)性(xing)能,但當氮含(han)量(liang)達到0.84%時,其(qi)韌脆轉變(bian)溫度(du)較高(gao),-200℃的沖(chong)擊(ji)韌性(xing)已顯得過低。
在一些酸性介質中,氮提高奧氏體不銹鋼耐一般腐蝕性能。適量的氮還提高奧氏體不銹鋼敏化態的耐晶間腐蝕性能,這是由于氮作為活性元素優先沿晶界聚集,氮降低碳原子和鉻原子的擴散能力,從而抑制M23C6型碳化物的析出和延緩σ相、x相的形成。圖9.69為氮對17Cr-13Ni-4,5Mo鋼中M23C6型碳化物析出行為的影響。適量的氮還可以顯著改善敏化狀態的耐晶間應(ying)力腐蝕(shi)開裂(lie)。

氮還提高鉻鎳鉬奧(ao)氏體不銹鋼(gang)耐稀硝酸腐蝕的性能。
在氯化(hua)物環(huan)境中(zhong),氮(dan)(dan)顯著提(ti)高奧(ao)氏體(ti)不(bu)銹(xiu)鋼耐點(dian)蝕和縫隙(xi)腐蝕的性能(neng)。研究表明,氮(dan)(dan)僅(jin)是強化(hua)鉻、鉬元素在奧(ao)氏體(ti)中(zhong)的耐蝕作用(yong),鉻、鉬的存在是氮(dan)(dan)改善奧(ao)氏體(ti)不(bu)銹(xiu)鋼耐蝕作用(yong)的前提(ti)。氮(dan)(dan)耐點(dian)蝕和耐縫隙(xi)腐蝕的能(neng)力約相當于鉻的30倍(bei)。
氮提高不銹鋼耐點蝕和耐縫隙腐蝕的機理尚有不同的觀點:氮在表面膜中富集,同時使表面膜中富鉻,從而提高鋼的鈍化能力和鈍態穩定性;氮與閉塞區的溶液反應形成NH-4,消耗H-,使初始蝕坑內pH升高,氮亦可產生NO-3,均有利于鋼的鈍化。
鉻鎳奧氏體不(bu)銹(xiu)鋼中的(de)(de)氮含量在0.12%~0.15%時,鋼的(de)(de)熱(re)(re)、冷(leng)加工(gong)性(xing)(xing)及(ji)冷(leng)成(cheng)形性(xing)(xing)等將有所下降(jiang)。熱(re)(re)加工(gong)性(xing)(xing)能的(de)(de)降(jiang)低(di)是由于鋼中氮化物(wu)和(he)碳氮化物(wu)的(de)(de)析出(chu)影響(xiang)了鋼的(de)(de)熱(re)(re)塑性(xing)(xing),而氮的(de)(de)固溶強化又減緩鋼的(de)(de)回復過程。冷(leng)加工(gong)性(xing)(xing)和(he)冷(leng)成(cheng)形性(xing)(xing)的(de)(de)降(jiang)低(di)主要是氮固溶強化所致。

